BUFFALO logo
BUFFALO logo

NAS

ユーザーマニュアル

TeraStation

Illustration of various TeraStation NAS models, including rackmount and tower units.
Illustration of various TeraStation NAS models, including rackmount and tower units.

TS5210DNシリーズ

TS5410DNシリーズ

TS5610DNシリーズ

TS51210RHシリーズ

TS5210DFシリーズ

TS5410RNシリーズ

TS5810DNシリーズ

ご使用前に必ず本書をお読みになり、本書に従って使用してください。本製品に関するお問い合わせは、お手持の導入ガイドを確認してください。導入ガイド、保証書は大切に保管してください。

https://www.buffalo.jp/

35021178-42

2026.02

目次

はじめに ..... 11
本書の対象製品 ..... 11
取扱説明書の構成 ..... 11
本製品の特長 ..... 12
第1章 基本的な使い方 ..... 13
各部の名称とはたらき ..... 13
デスクトップタイプ ..... 13
4ドライブ ラックマウントタイプ ..... 17
12ドライブ ラックマウントタイプ ..... 19
電源をON/OFFする ..... 21
設定を初期化するためのUSBドライブを作成する ..... 22
設定画面を使って本製品の設定を変更する ..... 22
設定画面を表示する ..... 22
設定ウィザードを実行する ..... 25
ダッシュボードで情報を確認する ..... 26
設定画面で本製品をシャットダウンまたは再起動する ..... 27
第2章 ファイル共有 ..... 28
共有フォルダーを設定する ..... 28
共有フォルダーを作成する ..... 28
共有フォルダーのデータを誤って消去しないために(ごみ箱機能) ... 32
共有フォルダーを読み取り専用にする ..... 32
隠し属性を設定する ..... 33
ユーザーを設定する ..... 33
ユーザーを作成する ..... 33
ユーザーをCSVからインポートする ..... 36
グループを作成する ..... 37
アクセス制限を設定する ..... 39
ローカルユーザーの共有フォルダーへのアクセスを制限する ..... 40
Active Directoryドメインユーザーの共有フォルダーへのアクセスを
制限する .....
42
サブフォルダーへのアクセスを制限する ..... 45
NFS機能を使用する ..... 48
NFS機能を有効にする ..... 48
NFSクライアントからアクセスする ..... 52
オフラインファイル機能を使用する (Windows) ..... 53

第3章 ドライブのモードと管理..... 55

使用できるRAIDモード ..... 55
ドライブの使用モードを設定する ..... 56
通常ドライブで使用する ..... 56
RAIDアレイを作成する ..... 57
障害発生時に自動でシャットダウンする ..... 59
自動でRAIDアレイを修復する (TS51210RHシリーズのみ) ..... 60
RAIDアレイを構成するドライブが認識できないときの動作を設定す
る .....
62
スペアドライブを設定する ..... 65
データを残したままRAIDアレイを操作する (RAID Mode Manager
機能) .....
67
RAIDメンテナンス機能を有効にする ..... 70
空き容量が少なくなったら通知する ..... 71
外付けUSBドライブを増設する ..... 73
ドライブの取り外し処理をする ..... 74
ファンクションボタンを使って取り外す ..... 74
設定画面を使って取り外す ..... 75
ドライブをチェックする ..... 76
SSDのTrimを設定する (TS5210DFシリーズのみ) ..... 77
SSDのデータ保護機能について (TS5210DFシリーズのみ) .... 79
制限される機能 ..... 79
SSDの総書き込み容量の上限を設定する (TS5210DFシリーズのみ) ..... 81
S.M.A.R.T.で内蔵ドライブをチェックする ..... 82
S.M.A.R.T.を表示する ..... 82
ドライブ状態の判定のしかた ..... 84
ドライブをフォーマットする ..... 84
ドライブを暗号化する ..... 86
ドライブのデータを完全に消去する ..... 87
完全フォーマットを実行する ..... 87
ドライブ廃棄 データ消去機能を使用する ..... 88
書き込める容量を制限する ..... 90
ユーザーごとに容量を制限する (クォータ機能) ..... 90
グループごとに容量を制限する (クォータ機能) ..... 91
ボリュームごとに容量を制限する ..... 93
本製品をiSCSIで操作する ..... 95
はじめに ..... 95
ボリュームを作成する ..... 96
ボリュームに接続する ..... 98
ボリュームをフォーマットする ..... 100
ボリュームを切断する ..... 100
アクセス制限を設定する ..... 101
アクセス制限を設定したボリュームに接続する ..... 104
ボリュームのサイズを拡張する ..... 105
ボリュームを削除する ..... 107
iSNSを有効にする ..... 108

第4章 データのバックアップ ..... 109

本製品のデータをバックアップする ..... 109
バックアップ動作モードについて ..... 109
バックアップで使用するフォルダーを準備する ..... 113
バックアップタスクを追加する ..... 116
バックアップに失敗したとき ..... 120
複数のバッファローNASのデータを1台のバッファローNASにバックアップする ..... 124
レプリケーション機能を使用する ..... 124
レプリケーション機能とは ..... 124
レプリケーション先を準備する ..... 125
レプリケーションタスクを追加する ..... 127
データを定期的に同期する ..... 130
フェイルオーバー機能を使用する ..... 131
フェイルオーバーを設定する前に ..... 132
使用制限 ..... 133
フェイルオーバーを設定する ..... 135
フェイルオーバー構成中にメイン機の設定を変更する ..... 138
メンテナンスモードに移行する ..... 138
データを定期的に同期する ..... 142
手動でバックアップ機をメイン機に切り替える ..... 143
バックアップ機がメイン機に切り替わったときは ..... 143
フェイルオーバーの設定を解除する ..... 145
Time Machine機能でMacのデータをバックアップする ..... 147

第5章 クラウドサービスの使用と外出先から本製品へのアクセス ..... 155

Amazon S3と連携する ..... 155
Amazon S3連携タスクを作成する ..... 156
Amazon S3にファイルをアップロードする ..... 159
Dropboxと連携する ..... 162
Dropbox連携タスクを作成する ..... 162
既存のタスクを変更する ..... 165
共有リンクを作成する(Windows) ..... 167
Microsoft Azureと連携する ..... 167
Azure連携アップロードタスクを作成する ..... 168
Azure連携ダウンロードタスクを作成する ..... 177
既存のタスクを変更する ..... 182
Microsoft OneDriveと連携する ..... 184
OneDrive連携タスクを作成する ..... 184
既存のタスクを変更する ..... 195
エラー発生時の対応方法 ..... 196
Working Folderと連携する ..... 198
Working Folderのキャビネット番号を設定する ..... 199
Working Folder連携タスクを作成する ..... 200
既存のタスクを変更する ..... 203
エラーログの読みかた ..... 205
Webアクセス機能を使用する ..... 205
Webアクセス機能とは ..... 205
Webアクセス機能を設定する ..... 206
Webアクセスで公開したフォルダーにアクセスする ..... 210
Webアクセス機能が設定できないときは..... 210
本製品をFTPサーバーとして使用する..... 212
FTPサーバー機能を有効にする ..... 212
FTP接続でアクセスする ..... 214

第6章 セキュリティーの強化 ..... 215

2段階認証を設定する ..... 215
2段階認証を有効にする ..... 215
設定画面にログインするユーザーを制限する ..... 221
2段階認証を無効にする ..... 223
ウイルススキャン機能を使用する ..... 225
はじめに ..... 225
ウイルススキャン機能を有効にする ..... 225
隔離フォルダーを変更する ..... 226
対象とするスキャンの種類を変更する ..... 227
ウイルス対策ソフトウェアのオプション設定画面を表示する ..... 228
プロキシサーバー経由で接続している場合 ..... 230
ライセンスを登録する、有効期間を延長する ..... 231
ウイルスパターンファイルをアップデートする ..... 233
ウイルススキャンを実行する ..... 234
ウイルススキャンログを確認する ..... 236
オンラインヘルプを表示する ..... 237
通信を暗号化する ..... 238
設定画面で操作する内容を暗号化する ..... 238
FTPでアクセスした内容を暗号化する ..... 239
SSLサーバー証明書を更新する ..... 240
起動認証機能を使用する ..... 241
はじめに ..... 241
起動認証機能を使うときの注意 ..... 242
認証サーバーを設置する(パソコン) ..... 242
起動認証機能を設定する(TeraStation) ..... 243
本製品が使用できなくなったときは ..... 245

第7章 設定のバックアップ/復元 ..... 247

設定情報一覧をダウンロードする ..... 247
設定を保存、復元する ..... 248
設定を保存する..... 249
設定を復元する..... 250
別のバッファローNASの設定を移行する ..... 251
設定ファイル(.nas_config形式)を作成する ..... 251
設定を移行する..... 252
設定を出荷時状態に戻す ..... 253
設定画面で初期化する ..... 253
USBドライブで初期化する ..... 254
管理者パスワードを初期化する ..... 255

第8章 ネットワーク設定の変更 ..... 256

離れた場所から本製品の電源をONにする(Wake on LAN機能) .
.....
256
ポートトランキング機能を使用する ..... 257
SNMP機能を有効にする ..... 260
プロキシサーバーを使用する ..... 262
Jumbo Frameで転送する ..... 263
IPアドレスを変更する..... 265
ホスト名とIPアドレスを紐付ける..... 267

第9章 その他の機能..... 269

イベント発生時にメールで通知する(メール通知機能) ..... 269
メール通知機能を有効にする ..... 269
送信するメールの種類を変更する ..... 271
指定した時刻に本製品をスリープにする(スリープタイマー機能) ..... 273
UPS(無停電電源装置)と連動する ..... 277
電源端子が1つの場合 ..... 277
電源端子が2つの場合 ..... 278
電源エラー時に自動でシャットダウンする(TS51210RHシリーズのみ) ..... 281
簡易Webサーバー機能を使用する ..... 282
簡易Webサーバー機能を有効にする ..... 282
コンテンツをブラウザで閲覧する ..... 284
ログを管理する ..... 284
ログを確認する..... 284
ログを転送する..... 286
ログへのショートカットを共有フォルダに作成する..... 287
ファイル操作ログのアーカイブ規則を変更する ..... 287
ファームウェアをアップデートする ..... 289
オンラインアップデートを行う ..... 289
自動アップデートを有効にする ..... 291
アップデート通知を無効にする ..... 292
名称(ホスト名)、時刻、言語を変更する ..... 293
警告音を設定する ..... 295
パネル設定を変更する ..... 296

第10章 ドライブ故障時の交換手順..... 298

TS51210RHシリーズのドライブを交換する ..... 298
ランプを確認する ..... 298
交換用ドライブ..... 299
ご注意ください..... 299
RAID 0以外のRAIDモードで使用中のドライブを交換する ..... 300
RAID 0モードで使用中のドライブを交換する ..... 301
通常ドライブで使用中のドライブを交換する ..... 302
ホットスペアで使用中のドライブを交換する ..... 303
TS51210RHシリーズ以外の機種 drives のドライブを交換する ..... 303
ランプを確認する ..... 303
交換用ドライブ..... 304
ご注意ください..... 304
RAID 0以外のRAIDモードで使用中のドライブを交換する (本製品の電源がONの場合) ..... 305
RAID 0以外のRAIDモードで使用中のドライブを交換する (本製品の電源がOFFの場合)..... 308
RAID 0モードで使用中のドライブを交換する ..... 309
通常ドライブで使用中のドライブを交換する ..... 310
ホットスペアで使用中のドライブを交換する ..... 311
データ保護モード時にドライブを交換する ..... 312
RAID 1で使用中のドライブに不良ブロックが発生した場合 ..... 312
RAID 0で使用中のドライブに不良ブロックが発生した場合 ..... 313
通常ドライブで使用中のドライブに不良ブロックが発生した場合..... 314

第11章 ソフトウェアについて..... 316

NAS Navigator2..... 316
Windows..... 316
Mac ..... 316
NovaBACKUP (Windows) ..... 316
ダウンロード方法 ..... 316
起動方法 ..... 317
設定方法 ..... 317

第12章 トラブルシューティングとメンテナンス .....

318

「E14」または「E16」が通知される ..... 318
RAIDアレイ一覧の「状態」欄に「修復が必要」と表示される .... 319
故障していないドライブの交換 ..... 321
本製品が正常に動作しない ..... 322
電源ランプが点滅したまま点灯に変わらない ..... 322
EMモードで起動する ..... 323
共有フォルダーにアクセスできない ..... 324
ネットワーク資格情報画面を表示する ..... 324
所有者とアクセス許可設定を元に戻す ..... 325
防塵フィルターのお手入れ ..... 327
困ったときは ..... 329

付録 .....

330

液晶ディスプレイ表示一覧 ..... 330
通常表示 ..... 330
エラー(異常)表示 ..... 331
警告表示 ..... 332
情報表示 ..... 334
出荷時設定 ..... 336
仕様 ..... 338

はじめに

本書の対象製品

このユーザーマニュアルは、以下のシリーズを対象としています。

TS5210DNシリーズ、TS5210DFシリーズ、TS5410DNシリーズ、TS5410RNシリーズ、TS5610DNシリーズ、TS5810DNシリーズ、TS51210RHシリーズ

取扱説明書の構成

本製品には複数の取扱説明書があり、当社ホームページ( https://www.buffalo.jp/ )からダウンロードできます。

それぞれの取扱説明書は、以下の場合に使用します。

導入ガイド(紙/PDF形式)

初めて本製品を設置するときに使用します。

ユーザーマニュアル(HTML形式/PDF形式)

本製品の使い方を確認するときに使用します。

キキNaviユーザーマニュアル(HTML形式/PDF形式)

遠隔地から本製品を監視できるサービス「キキNavi」の使い方を確認するときに使用します。

キキNavi設定事例集(PDF形式)

キキNaviの導入方法を、よくある運用環境と一緒に確認するときに使用します。

NAS移行マニュアル(HTML形式/PDF形式)

古いTeraStationを新しいTeraStationにリプレースするときの設定を確認するときに使用します。

本製品の特長

リモート管理サービス「キキNavi」に対応

キキNaviは、インターネットを経由して遠隔地に設置したTeraStationと管理者をつなぐ、バッファローのリモート管理サービスです。キキNaviをご利用いただくことで、遠隔地からのTeraStationの監視、メンテナンス用の簡易操作が可能となります。

オフィスのクライアントPC、サーバーをバックアップ

以下のバックアップ機能やソフトウェアに対応し、クライアントPCから各種サーバーまで、あらゆるビジネスデータのバックアップをサポートします。

10GbE&クアッドコアCPUを搭載

10GbE(10ギガビットイーサネット)を搭載しているため、LANカードの増設なしで、ハイスピードを使用できます。また、IEEE802.3bz規格にも対応しているため、すでに設置しているカテゴリー6ケーブルやカテゴリー5eケーブルの環境であっても、同規格に対応したスイッチに変更するだけで、5GbEや2.5GbEの速度で使用できます。

CPUには、クアッドコアプロセッサーを採用し、さらなる高速化を実現しました。

万が一のトラブル時もデータを守る「ファームウェア二重構造」

ドライブ上とNANDフラッシュ上にファームウェアを二重化して保持しているため、万が一ドライブ上のファームウェアが壊れても、NANDフラッシュ上のファームウェアから自動で修復します。

不正起動を防止する「起動認証」機能に対応

起動認証は、「起動認証管理ツール」をインストールしたクライアントPCと、ローカルネットワーク経由で認証処理を行う機能です。認証に失敗すると、本製品は起動しないため、盗難などによる不正起動を防止します。

第1章 基本的な使い方

各部の名称とはたらき

デスクトップタイプ

TS5210DNシリーズ、TS5210DFシリーズ

<正面>

Front view of the TS5210DN/DF series TeraStation. The main unit is on the left with a front panel latch (11). On the right is a detailed view of the front panel. It features seven LED indicators (1-7) for INFO, ERROR, LAN1, LAN2, LAN3, LAN4, and LAN5. Below the LEDs is a square display window (8) showing 'TeraStation'. To the right of the window are two buttons: 'DISPLAY' (9) and 'FUNCTION' (10).
Front view of the TS5210DN/DF series TeraStation. The main unit is on the left with a front panel latch (11). On the right is a detailed view of the front panel. It features seven LED indicators (1-7) for INFO, ERROR, LAN1, LAN2, LAN3, LAN4, and LAN5. Below the LEDs is a square display window (8) showing 'TeraStation'. To the right of the window are two buttons: 'DISPLAY' (9) and 'FUNCTION' (10).

<背面>

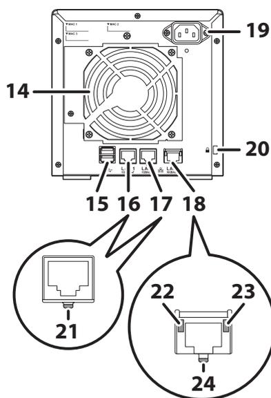
Rear view of the TS5210DN/DF series TeraStation. The main unit is on the left. On the right is a detailed view of the rear panel. It features a large cooling fan (14) in the center. Above the fan is a power switch (19). Below the fan are four RJ45 LAN ports (15, 16, 17, 18) labeled LAN1, LAN2, LAN3, and LAN4. At the bottom are two power input sockets (20). Two circular callouts provide close-up views of the LAN ports: the left one shows the port itself (21), and the right one shows a cable inserted into the port, with the latch (22), the cable (23), and the port (24) labeled.
Rear view of the TS5210DN/DF series TeraStation. The main unit is on the left. On the right is a detailed view of the rear panel. It features a large cooling fan (14) in the center. Above the fan is a power switch (19). Below the fan are four RJ45 LAN ports (15, 16, 17, 18) labeled LAN1, LAN2, LAN3, and LAN4. At the bottom are two power input sockets (20). Two circular callouts provide close-up views of the LAN ports: the left one shows the port itself (21), and the right one shows a cable inserted into the port, with the latch (22), the cable (23), and the port (24) labeled.

11 <正面(フロントパネルを開けた状態)>

Front view of the unit with the front panel open. The open panel is on the left, showing its internal structure. The main unit on the right shows the internal drive bays (12) and a handle for the drive tray (13).
Front view of the unit with the front panel open. The open panel is on the left, showing its internal structure. The main unit on the right shows the internal drive bays (12) and a handle for the drive tray (13).

TS5410DNシリーズ

Diagram of TS5410DN series NAS showing front, open front, and rear views with numbered callouts 1-24.

<正面>

Diagram showing the front view of the TS5410DN series NAS. Callout 11 points to the front panel latch.

<正面(フロントパネルを開けた状態)>

Diagram showing the front view with the front panel open. Callout 12 points to the drive bays, and callout 13 points to the drive bay door.

<背面>

Diagram showing the rear view of the TS5410DN series NAS. Callout 19 points to the power input. Callouts 14, 15, 16, 17, and 18 point to the LAN ports (LAN1, LAN2, LAN3, LAN4, and LAN5 respectively). Callout 22 points to the rear panel. Callout 21 points to a detail of the rear panel. Callout 24 points to a detail of a LAN port. Callout 23 points to a detail of a LAN port.

Front Panel Details:

  • 1: INFO LED
  • 2: ERROR LED
  • 3: LAN1 LED
  • 4: LAN2 LED
  • 5: LAN3 LED
  • 6: LAN4 LED
  • 7: LAN5 LED
  • 8: TeraStation logo
  • 9: REPLAY button
  • 10: FUNCTION button
Diagram of TS5410DN series NAS showing front, open front, and rear views with numbered callouts 1-24.

TS5610DNシリーズ

Diagram of TS5610DN series NAS showing front, open front, and rear views with numbered callouts 1-24.

<正面>

Diagram showing the front view of the TS5610DN series NAS. Callout 11 points to the front panel latch.

<正面(フロントパネルを開けた状態)>

Diagram showing the front view with the front panel open. Callout 12 points to the drive bays, and callout 13 points to the drive bay door.

<背面>

Diagram showing the rear view of the TS5610DN series NAS. Callout 19 points to the power input. Callouts 14, 15, 16, 17, and 18 point to the LAN ports (LAN1, LAN2, LAN3, LAN4, and LAN5 respectively). Callout 22 points to the rear panel. Callout 21 points to a detail of the rear panel. Callout 24 points to a detail of a LAN port. Callout 23 points to a detail of a LAN port.

Front Panel Details:

  • 1: INFO LED
  • 2: ERROR LED
  • 3: LAN1 LED
  • 4: LAN2 LED
  • 5: LAN3 LED
  • 6: LAN4 LED
  • 7: LAN5 LED
  • 8: TeraStation logo
  • 9: REPLAY button
  • 10: FUNCTION button
  • 15: Power button
Diagram of TS5610DN series NAS showing front, open front, and rear views with numbered callouts 1-24.

TS5810DNシリーズ

Diagram of the TS5810DN series TeraStation showing front, rear, and front-panel-open views with numbered callouts 1 through 24. Callout 1 points to the power button, 2 to the power lamp, 3 to the INFO lamp, 4 to the ERROR lamp, 5 to the LAN1 lamp, 6 to the LAN2 lamp, 7 to the LAN3 lamp, 8 to the LCD display, 9 to the display toggle button, 10 to the LAN4 lamp, 11 to the power switch, 12 to the drive bays, 13 to the drive bays, 14 to the rear panel, 15 to the power switch, 16 to the fan, 17 to the fan, 18 to the fan, 19 to the power input, 20 to the power input, 21 to the power input, 22 to the fan, 23 to the fan, 24 to the fan.
Diagram of the TS5810DN series TeraStation showing front, rear, and front-panel-open views with numbered callouts 1 through 24. Callout 1 points to the power button, 2 to the power lamp, 3 to the INFO lamp, 4 to the ERROR lamp, 5 to the LAN1 lamp, 6 to the LAN2 lamp, 7 to the LAN3 lamp, 8 to the LCD display, 9 to the display toggle button, 10 to the LAN4 lamp, 11 to the power switch, 12 to the drive bays, 13 to the drive bays, 14 to the rear panel, 15 to the power switch, 16 to the fan, 17 to the fan, 18 to the fan, 19 to the power input, 20 to the power input, 21 to the power input, 22 to the fan, 23 to the fan, 24 to the fan.

1 電源ボタン

電源をONまたはOFFにします。警告音が鳴っているときに押すと、警告音を止めることができます。

2 電源ランプ(緑)

点灯:電源がONのとき。

点滅:本製品が起動中または終了中のとき。

メモ: 15分経っても点滅から点灯に変わらない場合は、正常に起動できていません。第12章の「 電源ランプが点滅したまま点灯に変わらない 」(P.322)に記載の手順を参照して復旧してください。

3 INFOランプ(橙)

現在の状態について通知があるとき、点灯します。内容については、液晶ディスプレイの表示を確認してください。

4 ERRORランプ(赤)

エラーが発生したとき、点灯します。内容については、液晶ディスプレイの表示を確認してください。

5 LAN1ランプ(緑)

LAN1端子がネットワークに接続しているとき、点灯します。

6 LAN2ランプ(緑)

LAN2端子がネットワークに接続しているとき、点灯します。

7 LAN3ランプ(青)

LAN3端子がネットワークに接続しているとき、点灯します。

8 液晶ディスプレイ

本製品の状態などを表示します。

9 ディスプレイ切替ボタン

液晶ディスプレイの表示を切り替えます。警告音が鳴っているときに押すと、警告音を止めることができます。

10 ファンクションボタン

次の操作を行うときに使用します。

11 前面カバー開閉用鍵穴

ドライブを交換するときや初期化ボタンを押すとき、付属の鍵で前面カバーを開きます。

12 初期化ボタン

約10秒間長押しすると、設定の初期化が開始されます。

初期化が開始するとピー、ピーと音が鳴り、「I23」が通知されます。初期化が完了すると通知が消えます。

初期化される項目については、第7章の 「管理者パスワードを初期化する」(P255) を参照してください。

13 ステータスランプ

点滅(緑):ドライブにアクセスしているとき。

点滅(赤):ドライブにエラーが発生しているとき。

点灯(赤):ドライブの取り外し処理がされたとき(電源がOFFの状態)。

14 ファン

回転して内部温度が高温になるのを防ぎます。ファンを塞ぐような設置はしないでください。

15 USB端子

当社製対応外付けUSBドライブや、USBメモリー、対応UPSを接続できます。

TS5610DNシリーズおよびTS5810DNシリーズの本体前面のUSB端子には、キャップが取り付けられています。使用するときは、キャップを取り外してから使用してください。

メモ: USBハブの接続には対応していません。

16 LAN1端子(1GbE)

LANケーブルを接続します。最大1000 Mbpsで通信できます。

17 LAN2端子(1GbE)

LANケーブルを接続します。最大1000 Mbpsで通信できます。

18 LAN3端子(10GbE)

LANケーブルを接続します。付属のLANケーブルを使うと、最大10 Gbpsで通信できます。さらにLANケーブルが必要な場合は、別途カテゴリー6AのLANケーブルをご用意ください。

メモ: 最大10 Gbpsで通信するには、ネットワークが10GbEに対応している必要があります。

19 電源端子

付属の電源ケーブルを接続します。

20 盗難防止用セキュリティスロット

市販のワイヤロックなどで固定できます。

21 LINKランプ(緑)

点灯:リンクしているとき。

22 LINKランプ(橙)

点灯:100 Mbps、2.5 Gbps、5 Gbpsのいずれかでリンクしているとき。

23 LINKランプ(緑)

点灯:1000 Mbpsでリンクしているとき。

24 LINKランプ(青)

点灯:10 Gbpsでリンクしているとき。

4ドライブ ラックマウントタイプ

TS5410RNシリーズ

Diagram of the TS5410RN series network switch showing front and rear views with numbered callouts for components 1 through 24.

The diagram illustrates the front and rear views of the TS5410RN series network switch. The front view (top) shows 24 numbered callouts: 11 (power input), 19 (power button), 11 (INFO lamp), 20 (ERROR lamp), 2 (LAN1 lamp), 3 (LAN2 lamp), 4 (LAN3 lamp), 5 (LAN4 lamp), 6 (LAN5 lamp), 7 (LCD display), 11 (LAN6 lamp), 1 (power input), 7 (power button), 8 (INFO lamp), 9 (ERROR lamp), 11 (LAN7 lamp), 10 (LAN8 lamp), and 13 (fan). The rear view (bottom) shows 24 numbered callouts: 12 (fan), 20 (UID button), 13 (power input), 14 (LAN1 port), 15 (LAN2 port), 16 (LAN3 port), 18 (power input), 17 (power button), 12 (fan), 21 (LCD display), 22 (LAN1 lamp), 23 (LAN2 lamp), and 24 (LAN3 lamp). Insets show details of the LCD display (21) and the LAN ports (22, 23, 24).

Diagram of the TS5410RN series network switch showing front and rear views with numbered callouts for components 1 through 24.

1 電源ボタン

電源をONまたはOFFにします。警告音が鳴っているときに押すと、警告音を止めることができます。

2 INFOランプ(橙)

現在の状態について通知があるとき、点灯します。内容については、液晶ディスプレイの表示を確認してください。

3 ERRORランプ(赤)

エラーが発生したとき、点灯します。内容については、液晶ディスプレイの表示を確認してください。

4 LAN1ランプ(緑)

LAN1端子がネットワークに接続しているとき、点灯します。

5 LAN2ランプ(緑)

LAN2端子がネットワークに接続しているとき、点灯します。

6 LAN3ランプ(青)

LAN3端子がネットワークに接続しているとき、点灯します。

7 液晶ディスプレイ

本製品の状態などを表示します。

8 ディスプレイ切替ボタン

液晶ディスプレイの表示を切り替えます。警告音が鳴っているときに押すと、警告音を止めることができます。

9 ファンクションボタン

次の操作を行うときに使用します。

10 初期化ボタン

先の尖ったもので約10秒間長押しすると、設定の初期化が開始されます。

初期化が開始するとピー、ピーと音が鳴り、「I23」が通知されます。初期化が完了すると通知が消えます。

初期化される項目については、第7章の [管理者パスワードを初期化する] (P.255) を参照してください。

11 ステータスランプ

点滅(緑): ドライブにアクセスしているとき。

点滅(赤): ドライブにエラーが発生しているとき。

点灯(赤): ドライブの取り外し処理がされたとき(電源がOFFの状態)。

12 ファン

回転して内部温度が高温になるのを防ぎます。ファンを塞ぐような設置はしないでください。

13 USB端子

当社製対応外付けUSBドライブや、USBメモリー、対応UPSを接続できます。

メモ: USBハブの接続には対応していません。

14 LAN1端子(1GbE)

LANケーブルを接続します。最大1000 Mbpsで通信できます。

15 LAN2端子(1GbE)

LANケーブルを接続します。最大1000 Mbpsで通信できます。

16 LAN3端子(10GbE)

LANケーブルを接続します。付属のLANケーブルを使うと、最大10 Gbpsで通信できます。さらにLANケーブルが必要な場合は、別途カテゴリー6AのLANケーブルをご用意ください。

メモ: 最大10 Gbpsで通信するには、ネットワークが10GbEに対応している必要があります。

17 電源端子

付属の電源ケーブルを接続します。

18 盗難防止用セキュリティスロット

市販のワイヤロックなどで固定できます。

19 シリアル番号

取っ手を引くと本製品のシリアル番号を確認できます。

20 UIDボタン

ボタンを押すごとに、ボタン近くのランプが青色に点灯または消灯します。

21 LINKランプ(緑)

点灯:リンクしているとき。

22 LINKランプ(橙)

点灯:100 Mbps、2.5 Gbps、5 Gbpsのいずれかでリンクしているとき。

23 LINKランプ(緑)

点灯:1000 Mbpsでリンクしているとき。

24 LINKランプ(青)

点灯:10 Gbpsでリンクしているとき。

12 ドライブ ラックマウントタイプ

TS51210RHシリーズ

Diagram of the TS51210RH series NAS unit showing front and rear views with numbered callouts 1 through 22. The front view shows the power button (1), power lamp (2), alarm lamp (3), reset button (4), function button (5), alarm lamp (6), alarm lamp (7), power lamp (8), power lamp (9), and the BUFFALO logo (10). The rear view shows the power button (11), power lamp (12), USB ports (13, 14), LAN ports (15, 16, 17, 18), a USB hub (19), a LAN port (20), a USB port (21), and a USB hub (22).
Diagram of the TS51210RH series NAS unit showing front and rear views with numbered callouts 1 through 22. The front view shows the power button (1), power lamp (2), alarm lamp (3), reset button (4), function button (5), alarm lamp (6), alarm lamp (7), power lamp (8), power lamp (9), and the BUFFALO logo (10). The rear view shows the power button (11), power lamp (12), USB ports (13, 14), LAN ports (15, 16, 17, 18), a USB hub (19), a LAN port (20), a USB port (21), and a USB hub (22).

1 電源ボタン

電源をONまたはOFFにします。警告音が鳴っているときに押すと、警告音を止めることができます。

2 電源ランプ(緑)

点灯:電源がONのとき。

点滅:本製品を起動中または終了中のとき。

メモ: 15分経っても点滅から点灯に変わらない場合は、正常に起動できていません。第12章の 「電源ランプが点滅したまま点灯に変わらない」(P.322) に記載の手順を参照して復旧してください。

3 ERRORランプ(赤)

エラーが発生したとき、点灯します。内容については、本製品の設定画面やNAS Navigator2の表示を確認してください。

4 RESETボタン

先の尖ったもので約10秒間長押しすると、設定の初期化が開始されます。

初期化が開始するとピー、ピーと音が鳴り、「I23」が通知されます。初期化が完了すると通知が消えます。

初期化される項目については、第7章の 「管理者パスワードを初期化する」(P.255) を参照してください。

5 ファンクションボタン

次の操作を行うときに使用します。

6 LANランプ(青)

LAN端子がネットワークに接続しているとき、点灯します。

7 INFOランプ(橙)

現在の状態について通知があるとき、点灯します。内容については、本製品の設定画面やNAS Navigator2の表示を確認してください。

8 ドライブステータスランプ(青)

点灯: ドライブを認識したとき。

点滅: ドライブにアクセスしているとき。

9 ドライブエラーランプ(赤)

ドライブにエラーが発生しているとき、点灯します。

10 USB 2.0端子

当社製対応外付けUSBドライブや、USBメモリー、対応UPSを接続できます。

メモ: USBハブの接続には対応していません。

11 電源端子(電源ユニット)

付属の電源ケーブルを接続します。冗長性確保のため、電源ケーブルは2本とも接続して使用してください。

電源ユニットが故障したときは、別売りの交換用電源ユニットOP-PU-10R2Uに交換できます。

12 ファン

回転して内部温度が高温になるのを防ぎます。ファンを塞ぐような設置はしないでください。

13 Micro USB端子

通常は使用しません。

14 USB 3.2(Gen 1)端子

当社製対応外付けUSBドライブや、USBメモリー、対応UPSを接続できます。

メモ: USBハブの接続には対応していません。

15 LAN1端子(1GbE)

LANケーブルを接続します。最大1000 Mbpsで通信できます。

16 LAN2端子(1GbE)

LANケーブルを接続します。最大1000 Mbpsで通信できます。

17 LAN3端子(10GbE)

LANケーブルを接続します。付属のLANケーブルを使うと、最大10 Gbpsで通信できます。さらにLANケーブルが必要な場合は、別途カテゴリー6AのLANケーブルをご用意ください。

メモ: 最大10 Gbpsで通信するには、ネットワークが10GbEに対応している必要があります。

18 LAN4端子(10GbE)

LANケーブルを接続します。付属のLANケーブルを使うと、最大10 Gbpsで通信できます。さらにLANケーブルが必要な場合は、別途カテゴリー6AのLANケーブルをご用意ください。

メモ: 最大10 Gbpsで通信するには、ネットワークが10GbEに対応している必要があります。

19 LINK/ACTランプ(緑)

点灯: リンクしているとき。

点滅: アクセスしているとき。

20 LINKランプ(橙)

点灯: 100 Mbps、2.5 Gbps、5 Gbpsのいずれかでリンクしているとき。

21 LINKランプ(緑)

点灯: 1000 Mbpsでリンクしているとき。

22 LINKランプ(青)

点灯: 10 Gbpsでリンクしているとき。


電源をON/OFFする

電源ボタンを押すと電源がONになります。

電源をOFFにするには、電源ボタンを約3秒間長押ししてください。電源ランプが消灯したらシャットダウンは完了です。

電源をOFFにしないまま電源ケーブルを抜くと故障する恐れがあります。

メモ: 本製品の起動中、シャットダウン中に本製品内蔵のドライブを取り付けたり、取り外したりしないでください。

本製品は、設定画面からシャットダウンしたり、再起動することもできます。詳細な手順については、後述の 「設定画面で本製品をシャットダウンまたは再起動する」(P.27) を参照してください。

設定を初期化するためのUSBドライブを作成する

設定初期化USBドライブを作成しておくと、本製品が何らかの理由で起動しないときでも本製品の設定や管理者パスワードを出荷時の状態に戻すことができます。あらかじめ設定初期化USBドライブを作成することをおすすめします。

設定初期化USBドライブは、第7章の 「USBドライブで初期化する」(P.254) を参照して作成してください。

メモ: 設定初期化USBドライブを作成することで現在保存されているデータや設定が消去されることはありません。ただし、設定初期化USBドライブを使用して設定を初期化すると、本製品の設定はすべて出荷時の状態に戻ります。本製品に保存されているデータも消去されることがありますので、重要なデータや設定は、日常的にバックアップされることをおすすめします。

設定画面を使って本製品の設定を変更する

設定画面を使って本製品の設定の変更や管理が可能です。設定画面は以下の手順または本製品のIPアドレスをブラウザのアドレスバーに入力すると表示できます。

メモ:

設定画面を表示する

1 NAS Navigator2を起動します。

Windows: デスクトップのNAS Navigator2アイコン( NAS Navigator2 icon )をダブルクリックします。

Mac: Launchpadを開いてNAS Navigator2アイコン( NAS Navigator2 icon )をクリックします。

2 設定画面を開きます。

Windows:本製品のアイコンを右クリックし、[Web設定画面を開く]をクリックします。

Mac:コントロールキーを押しながら本製品のアイコンをクリックし、[Web設定画面を開く]をクリックします。

Screenshot of NAS Navigator2 showing the context menu for a TS4410D series NAS device. The menu includes options like 'Open shared folder (B)', 'Open Web settings (O)', 'Propertie (P)...', 'Assign network drive (M)', 'Disconnect network drive (D)', 'Create shortcut (R)', and 'I'm here (H)'. The bottom status bar shows details for the TS4410D series, including drive status, workgroup, IP address, and firmware version.
Screenshot of NAS Navigator2 showing the context menu for a TS4410D series NAS device. The menu includes options like 'Open shared folder (B)', 'Open Web settings (O)', 'Propertie (P)...', 'Assign network drive (M)', 'Disconnect network drive (D)', 'Create shortcut (R)', and 'I'm here (H)'. The bottom status bar shows details for the TS4410D series, including drive status, workgroup, IP address, and firmware version.

3 管理者ユーザー名とパスワードを入力し、[OK]をクリックします。

Screenshot of the Buffalo NAS login page. It features the BUFFALO logo at the top. Below it is a text input field containing 'admin'. Underneath is a checkbox labeled '別ユーザー名でログインする' (Login with another username). Below the checkbox is a text input field containing 'パスワード' (Password). There are two radio buttons for 'タイムアウト時間' (Timeout time): '10分' (10 minutes) which is selected, and '無制限' (Unlimited). At the bottom is a large blue 'OK' button and a link 'セキュリティを強化して利用する' (Use while strengthening security).

メモ:

パスワード:password

4 2段階認証を有効にしている場合、認証アプリに表示されている確認コードを入力し、[OK]をクリックします。

メモ: 2段階認証機能の詳細については、第6章の [2段階認証を設定する] (P.215) を参照してください。

Screenshot of the 2-step authentication code entry screen. It features the BUFFALO logo at the top, a prompt to enter the code, a text input field containing '123456', a link to resend the code via email, and a large blue OK button at the bottom.

確認コードを入力してください。

123456

確認コードをメールで送信

OK

5 設定画面が表示されます。

Screenshot of the BUFFALO web interface showing the dashboard for model TS5410DXXX. The left sidebar lists menu items: ダッシュボード, ファイル共有, ストレージ, クラウドストレージ連携, アプリケーション, ネットワーク, バックアップ, 管理, and キキNavi. The main area displays a notification bar, a KikiNavi section, a CPU usage graph (0%), and a memory usage section (8%).

TS5410DXXX (TS5410D)

Language 日本語

新しい通知はありません。

キキNavi

キキNaviとは、インターネット経由で本製品を遠隔監視するサービスです。機能を設定するには、[設定する]をクリックしてください。

設定する

CPU使用率: 0%

システム情報

名称 TS5410DXXX

メモリ使用率: 8%

以上で、設定画面を表示する手順は完了です。

メモ:

設定ウィザードを実行する

初めて本製品の設定画面を表示したときや本製品の設定を初期化したあとは、設定ウィザードが表示されます。画面の指示に従って、設定を完了してください。

メモ:

設定ウィザード画面例

管理者パスワードの変更


管理者パスワードを変更します。
セキュリティー向上のため、管理者パスワードを変更してください。

パスワードの文字を表示する

パスワード: help icon

確認のため、もう一度、同じパスワードを入力してください。

パスワード(確認):

ダッシュボードで情報を確認する

設定画面を表示すると、ダッシュボードが表示されます。ダッシュボードでは、以下の情報が確認できます。

Screenshot of the BUFFALO TS5410DXXX (TS5410D) dashboard. The interface shows a sidebar with menu items: ダッシュボード (Dashboard), ファイル共有 (File Sharing), ストレージ (Storage), クラウドストレージ連携 (Cloud Storage Integration), アプリケーション (Applications), ネットワーク (Network), バックアップ (Backup), 管理 (Management), and キキNavi. The main dashboard area includes a green notification bar stating '新しい通知はありません。' (No new notifications). Below are several widgets: 'キキNavi' (KikiNavi) with a description and a '設定する' (Set) button; 'CPU使用率: 0%' (CPU Usage: 0%) with a line graph showing usage over 60 seconds; 'システム情報' (System Information) with a table showing '名称' (Name) as 'TS5410DXXX'; and 'メモリ使用率: 8%' (Memory Usage: 8%) with a bar graph.
Screenshot of the BUFFALO TS5410DXXX (TS5410D) dashboard. The interface shows a sidebar with menu items: ダッシュボード (Dashboard), ファイル共有 (File Sharing), ストレージ (Storage), クラウドストレージ連携 (Cloud Storage Integration), アプリケーション (Applications), ネットワーク (Network), バックアップ (Backup), 管理 (Management), and キキNavi. The main dashboard area includes a green notification bar stating '新しい通知はありません。' (No new notifications). Below are several widgets: 'キキNavi' (KikiNavi) with a description and a '設定する' (Set) button; 'CPU使用率: 0%' (CPU Usage: 0%) with a line graph showing usage over 60 seconds; 'システム情報' (System Information) with a table showing '名称' (Name) as 'TS5410DXXX'; and 'メモリ使用率: 8%' (Memory Usage: 8%) with a bar graph.

メモ:

設定画面で本製品をシャットダウンまたは再起動する

設定画面で本製品をシャットダウンまたは再起動できます。

  1. 1 設定画面右上の << をクリックします。
  2. 2 [シャットダウン] をクリックします。再起動するときは、[再起動] をクリックします。
Screenshot of the device's settings menu. At the top, it shows 'TS5410D8C3 (TS5410D)' with a back button '<<'. Below, the user 'admin' is logged in. The menu contains options: 'I'm here', 'ログアウト' (Logout), '再起動' (Restart), and 'シャットダウン' (Shutdown).
Screenshot of the device's settings menu. At the top, it shows 'TS5410D8C3 (TS5410D)' with a back button '<<'. Below, the user 'admin' is logged in. The menu contains options: 'I'm here', 'ログアウト' (Logout), '再起動' (Restart), and 'シャットダウン' (Shutdown).
  1. 3 [はい] をクリックします。
  2. 4 「通信の確認」画面が表示されます。表示されている数字を正確に入力し、[OK] をクリックします。

本製品をシャットダウンしたときは、電源ランプが消灯したら完了です。

本製品を再起動したときは、電源ランプが点滅から点灯に変わったら完了です。

第2章 ファイル共有

共有フォルダーを作成したり、共有フォルダーごとにアクセスできるユーザーやグループを設定できます。アクセス制限はデータを公開したくないときなどに設定してください。

メモ: ユーザー、グループ、共有フォルダーの設定を変更中に、ほかのユーザーがファイルコピーなどの処理をすると、ファイルが破損する恐れがあります。これらの設定を変更する場合、作業中にユーザーが本製品にアクセスしないように徹底してから行ってください。

共有フォルダーを設定する

共有フォルダーを作成する

1 設定画面で「ファイル共有」をクリックします。

A dark grey rectangular button with a white folder icon and the text 'ファイル共有' (File Sharing).
A dark grey rectangular button with a white folder icon and the text 'ファイル共有' (File Sharing).

2 「共有フォルダー」の横にある設定アイコン( gear icon )をクリックします。

A horizontal list item showing a folder icon with a plus sign, the text '共有フォルダー' (Shared Folder), a gear icon, and the text '2 フォルダー' (2 Folders).
A horizontal list item showing a folder icon with a plus sign, the text '共有フォルダー' (Shared Folder), a gear icon, and the text '2 フォルダー' (2 Folders).

3 [共有フォルダーの作成]をクリックします。

共有フォルダー一覧

共有フォルダーの作成 共有フォルダーの削除 ごみ箱を削除

絞り込み:

名称 ドライブ領域 ごみ箱 SMB AFP バックアップ Webアクセス 詳細
info
share RAIDアレイ 1

4 共有フォルダー名など各項目を入力し、[OK]をクリックします。

共有フォルダー設定 dialog box

共有フォルダー設定

* は必須項目です。

基本 オプション 1 オプション 2 アクセス制限

他の共有フォルダー設定を流用: [ ]

共有フォルダー名 *: [ ]

ドライブ領域: RAIDアレイ 1 [ ]

ごみ箱: 有効にする 無効にする

公開プロトコル: SMB AFP
FTP バックアップ
SFTP Webアクセス
NFS
— NFSパス —

OK キャンセル

以上で、共有フォルダーを作成する手順は完了です。

メモ:

    • 共有フォルダ一名、ワークグループ名およびファイル名に次の文字を使用すると、本製品のデータにアクセスできない、ファイル操作が正常に行えないことがあります。そのようなときはほかの文字を使用してください。

<推奨しない文字一覧>

① ② ③ ④ ⑤ ⑥ ⑦ ⑧ ⑨ ⑩ ⑪ ⑫ ⑬ ⑭ ⑮ ⑯ ⑰ ⑱ ⑲ ⑳ | I II III IV V VI VII VIII IX X

i ii iii iv v vi vii viii ix x mm cm km mg kg cc m 2 No. K.K. TEL 上 中 下 左 右 株 有 代 明治 大正 昭和 平成 ミリ キロ セン メートル トン エー プリット フック カロ ドルト セン バー ビル

    • • マルチバイト文字を名前に使用したフォルダーやファイルを共有フォルダーに保存するときは、85文字以内にしてください。制限文字数を超える名前のフォルダーやファイルは、コピーできないことがあります。
    • • 本製品の共有フォルダーにWindowsから属性(隠しファイル/読み取り専用)は設定できません。共有フォルダーに属性を設定するには、設定画面で行ってください。設定方法は、後述の「 共有フォルダーを読み取り専用にする 」(P.32)を参照してください。
    • • 共有フォルダー名とワークグループ名にマルチバイト文字を使用すると、使用した文字によっては共有フォルダーやワークグループが正常に表示されないことがあります。そのようなときはマルチバイト文字以外の文字を使用してください。
    • • AFP、FTP共有で使用する共有フォルダーの名称にマルチバイト文字を使用する場合、設定画面で[管理] - [名称/時刻/言語] - [言語] - [編集]の順にクリックし、クライアント言語の設定を使用する文字に合わせて変更してください。設定した言語以外の文字は、共有フォルダー名が正しく表示されません。使用する文字によっては正しくアクセスできない可能性がありますので、アルファベットと数字を使用することをおすすめします。
    • • Macからアクセスされた共有フォルダーには、Mac用の情報ファイルが自動生成されることがあります。情報ファイルをWindowsで削除した場合、Macからアクセスできなくなることがありますので削除はしないでください。
    • • 本製品は、AppleShareが指定するデフォルトゾーンに属します。ゾーンは指定できません。
    • • 本製品に搭載されているOSの仕様により、本製品のドライブおよび接続したUSBドライブに保存したファイルの日付情報は更新されることがあります(作成日時、更新アクセスなどの日付情報は保持されません)。
    • • ファイルの転送中に設定画面で設定を変更すると、ファイルの転送が中断されることがあります。
    • • 本製品へのファイルコピーは、ジャーナリングファイルシステムにより保護されますが、コピー中にキャンセルしたり、コピーを途中で終了(LANケーブルが抜けた、停電など)したりすると次の現象が発生することがあります。
      • ◦ 設定したデータ(本製品の名称、ユーザー、グループ)が消えてしまうことがあります。
      • ◦ 不完全なファイルがコピーされ、ファイルが削除できなくなることがあります。その場合は、本製品を再起動してからファイルを削除し、コピー操作をもう一度行ってください。
    • • ファイルコピー中にファイルコピーで使用していないLAN端子のLANケーブルを抜き挿しすると、コピーに失敗します。コピー中はLANケーブルを抜き挿ししないでください。

共有フォルダーのデータを誤って消去しないために(ごみ箱機能)

共有フォルダーごとにごみ箱(「trashbox」フォルダー)を作成するように設定できます。OSのごみ箱と同じように、共有フォルダー内で削除したデータは一時的にごみ箱に移動されます。削除したデータを元に戻すには、ごみ箱を開いてファイルを移動してください。

削除したデータがごみ箱に移動されるのは、SMB接続で操作したときだけです。AFP接続やFTP接続時に削除したデータは移動されません。

メモ:

ごみ箱の操作権限を変更する前にごみ箱に移動されたファイルは、権限を変更する前に設定されたユーザーに削除する権限があります。たとえば、操作権限が「すべてのユーザー」の状態でファイルを削除し、そのあとで「管理者のみ」にした場合でも、ごみ箱にあるファイルはすべてのユーザーが削除できます。

共有フォルダーを読み取り専用にする

共有フォルダーの設定画面で、共有フォルダーの属性を読み取り専用に変更できます。出荷時設定では書き込み可能に設定されています。読み取り専用に設定した共有フォルダーは、アクセス制限で書き込み可能になっているユーザー、グループでもデータを書き込むことはできません。

読み取り専用に設定した共有フォルダーやHFS+形式のUSBドライブは、エクスプローラーの「コメント」欄に「(Read Only)」と表示されます。

Screenshot of a Windows Explorer window showing a shared folder named 'share' with the comment 'TeraStation Utilities (Read Only)'.

The image shows a screenshot of a Windows Explorer window. On the left sidebar, 'Quick Access' is selected, showing icons for OneDrive, PC, and Network. The main pane displays a list of folders. There are two entries: 'info' and 'share'. The 'share' folder is selected. To the right of the folder names, under the 'Comments' column, the text 'TeraStation Utilities' and '(Read Only)' are displayed.

Screenshot of a Windows Explorer window showing a shared folder named 'share' with the comment 'TeraStation Utilities (Read Only)'.

共有フォルダーの属性を変更するには、以下の手順を行ってください。

  1. 1 設定画面で[ファイル共有]-[共有フォルダー]の順にクリックし、設定する共有フォルダーを選択します。
  2. 2 [オプション2]タブをクリックします。
  3. 3 「属性」を「読取専用」にし、[OK]をクリックします。

以上で、共有フォルダーを読み取り専用にする手順は完了です。

隠し属性を設定する

本製品に作成した共有フォルダをネットワーク上に表示しないように、「隠し共有」機能を設定できます。「隠し共有」機能を設定した共有フォルダはネットワークなどに表示されず、フォルダの存在を知っている特定のユーザーだけがそのフォルダにアクセスできるようになります。

隠し共有機能を有効にするには、以下の手順を行ってください。

  1. 1 設定画面で[ファイル共有]-[共有フォルダ]の順にクリックし、設定する共有フォルダを選択します。
  2. 2 [オプション2]タブをクリックします。
  3. 3 フォルダ属性の「隠し共有(SMB)」にチェックマークを付け、[OK]をクリックします。

メモ:

以上で、隠し属性を設定する手順は完了です。

隠し共有を有効にした共有フォルダを開くには、[スタート]-[ファイル名を指定して実行]をクリックし、名前に「¥本製品の名称¥共有フォルダ名$¥」と入力してください。

例:本製品の名称=TSXXX001、共有フォルダ名=shareの場合、¥¥TSXXX001¥share$¥

ユーザーを設定する

ユーザーを作成する

  1. 1 設定画面で[ファイル共有]をクリックします。
設定画面の[ファイル共有]ボタン
設定画面の[ファイル共有]ボタン
  1. 2 「ユーザー」の横にある設定アイコン( 設定アイコン )をクリックします。
ユーザー設定画面のスクリーンショット。左側に「ユーザー」というラベルとアイコンがあり、右側に「2 ローカルユーザー」というラベルと設定アイコン(歯車)があります。
ユーザー設定画面のスクリーンショット。左側に「ユーザー」というラベルとアイコンがあり、右側に「2 ローカルユーザー」というラベルと設定アイコン(歯車)があります。

3 [ユーザーの作成]をクリックします。

ユーザー一覧

ローカルユーザー | ドメインユーザー

ユーザーの作成 | CSVデータ読み込み | ユーザーの削除

絞り込み: ×

ユーザー名 ユーザーの説明 クォータ警告容量 クォータ容量 所属グループ 共有フォルダ
admin 管理者(システム定義) 無効 無効 1 ▶
guest ゲスト(システム定義) 無効 無効 1 ▶

◂ ◂ | ページ 1 | / 1 | ▸ ▸ |

2 件中 1 - 2 を表示 表示件数: 20 ▼

4 ユーザー名など各項目を入力し、[OK]をクリックします。

Image: Screenshot of the 'User Information' dialog box. The dialog has a title bar 'ユーザー情報' (User Information) and a red note '* は必須項目です。' ( * is a required item). On the left, there are input fields for 'ユーザー名: *' (Username: *), 'ユーザーID:' (User ID: ※1000~1999の間の数字を入力) (User ID: ※Enter a number between 1000 and 1999), 'メールアドレス:' (Email address:), 'パスワード: *' (Password: *), 'パスワード再入力: *' (Re-enter password: *), 'ユーザーの説明:' (User description:), and 'クォータ:' (Quota: ○ 有効にする (単位: GB)) (○ Enable (unit: GB)). Below the quota section is 'クォータ警告容量: 1' (Quota warning capacity: 1). On the right, there is a '絞り込み:' (Filter: ) input field and a '所属グループ' (Belonging group) list with checkboxes for 'hdusers' (checked) and 'admin' (unchecked). Below the list are buttons 'すべて選択' (Select all) and 'すべて解除' (Deselect all). At the bottom right is a 'プライマリーグループ:' (Primary group: ) dropdown menu showing 'hdusers'. At the very bottom are 'OK' and 'キャンセル' (Cancel) buttons.

以上で、ユーザーを作成する手順は完了です。

メモ:

ユーザーをCSVからインポートする

設定画面で[ファイル共有] - [ユーザー] - [CSVデータ読み込み]の順にクリックし、ユーザー情報を記載したテキストファイル(UTF-8形式)を選択して、[読み込む]をクリックすれば、ユーザー情報を一括で取り込むことができます。

ユーザー情報書式: ユーザー名(必須), パスワード(必須), ユーザーの説明(任意)

例1) ユーザー名、パスワード、ユーザーの説明をすべてインポートする場合

username1,password1,comment1
username2,password2,comment2
username3,password3,comment3
...

例2) ユーザー名、パスワードだけで、ユーザーの説明はインポートしない場合

username1,password1,
username2,password2,
username3,password3,
...

メモ:

グループを作成する

1 設定画面で「ファイル共有」をクリックします。

設定画面の「ファイル共有」ボタン
設定画面の「ファイル共有」ボタン

2 「グループ」の横にある設定アイコン( 設定アイコン )をクリックします。

「グループ」の横にある設定アイコン
「グループ」の横にある設定アイコン

3 「グループの追加」をクリックします。

グループ一覧

ローカルグループ | ドメイングループ

グループの追加 | グループの削除

絞り込み:

グループ名 グループの説明 クォータ警告容量 クォータ容量 ユーザー数
hdusers 一般権限(システム... 無効 無効 0
admin 管理者権限(システ... 無効 無効 1

Image: ユーザー数表示

guest ゲスト権限(システ... 無効 無効 1

Image: ユーザー数表示

◂ ◃ | ページ / 1 | ▹ ▸ | 3 件中 1 - 3 を表示 表示件数: 20 ▾

4 グループ名など各項目を入力し、[OK]をクリックします。

Image: Screenshot of the 'Group Settings' dialog box. The dialog has a title bar 'グループ設定'. On the left, there are input fields for 'グループ名:' (Group Name), 'グループID:' (Group ID) with a note '※1000~1999の間の数字を入力' (Enter a number between 1000 and 1999), 'グループ権限:' (Group Permission) with a dropdown showing '一般ユーザー' (General User), '代表メールアドレス:' (Representative Email Address) with radio buttons for '所属ユーザーから選択' (Select from member users) and 'メールアドレスを入力' (Enter email address), 'グループの説明:' (Group Description), and 'クォータ:' (Quota) with a radio button for '有効にする (単位: GB)' (Enable (unit: GB)). On the right, there is a '絞り込み:' (Filter) input field and a list box titled '所属ユーザー名' (Member Username) containing the user 'admin'. At the bottom, there are buttons for 'すべて選択' (Select All), 'すべて解除' (Deselect All), 'OK', and 'キャンセル' (Cancel). A red note '* は必須項目です。' ( * is a required item) is visible in the top right.

以上で、グループを作成する手順は完了です。

メモ:

<使用できない文字列>

_lldpd, adm, admin, administrator, admins, all, apache, avahi, avahi-autoipd, backup, bin, crontab, daemon, dialout, dip, disk, ftp, ftpuser, fuse, gnats, guest, guests, halt, hdusers, irc, kmem, libuuid, list, lp, mail, man, messagebus, mysql, netdev, news, nobody, nogroup, none, ntp, openldap, operator, plugdev, proftpd, proxy, puppet, root, rpc, rpcuser, sambashare, sasl, shadow, shutdown, snmp, splx, src, ssh, sshd, staff, statd, sudo, sync, syslog, tmhttpd, tty, users, utmp, uucp, winbindd_priv, www, www-data

アクセス制限を設定する

メモ:

ユーザー権限 グループ権限
書き込み可能な権限を持つグループ 読み取り専用の権限を持つグループ アクセス不可の権限を持つグループ
書き込み可能な権限を持つユーザー R/W R R/W
読み取り専用の権限を持つユーザー R R R
アクセス不可の権限を持つユーザー R/W R

R/W:書き込み可能、R:読み取り専用、—:アクセス不可

ローカルユーザーの共有フォルダーへのアクセスを制限する

1 設定画面で「ファイル共有」をクリックします。

ファイル共有ボタン
ファイル共有ボタン

2 「共有フォルダー」の横にある設定アイコン( 設定アイコン )をクリックします。

共有フォルダーと設定アイコン
共有フォルダーと設定アイコン

3 アクセス制限を設定する共有フォルダーをクリックします。

共有フォルダー一覧画面
名称 ドライブ領域 ごみ箱 SMB AFP バックアップ Webアクセス 詳細
info
share RAIDアレイ 1
共有フォルダー一覧画面

4 [アクセス制限] タブをクリックし、「共有フォルダーのアクセス制限設定」を「有効にする」にします。

共有フォルダーのアクセス制限設定: 有効にする 無効にする

5 追加したユーザーまたはグループのアクセス権限を選択します。

Image: W/R icon

: 書き込み可能

Image: R icon

: 読み取り専用

Image: No access icon

: アクセス不可

Image: Screenshot of the 'Local User' tab in a permission dialog box. It shows a table with columns for user name and three permission levels: Write/Read, Read, and No Access. The 'admin' user has Write/Read selected. The 'guest' user has No Access selected. The 'sample-user01' user has Write/Read selected. The 'sample-user02' user has Read selected. The dialog includes a search bar, pagination controls, and OK/Cancel buttons.

ローカルユーザー ローカルグループ ドメインユーザー ドメイングループ

絞り込み: X

ローカルユーザー名

Image: W/R icon

Image: R icon

Image: No access icon

admin
guest
sample-user01
sample-user02

ページ 1 / 1 | 4 件中 1 - 4 を表示 | 表示件数: 20

OK キャンセル

上の画面はローカルユーザーでアクセス制限した例です。ローカルグループでアクセス制限するには、[ローカルグループ]タブをクリックし、グループの権限を選択します。

Image: Screenshot of the 'Local Group' tab in a permission dialog box. It shows a table with columns for group name and three permission levels: Write/Read, Read, and No Access. The 'hdusers' group has Write/Read selected. The 'admin' group has Write/Read selected. The 'guest' group has No Access selected. The 'sample-group01' group has Read selected. The dialog includes a search bar, pagination controls, and OK/Cancel buttons.

ローカルユーザー ローカルグループ ドメインユーザー ドメイングループ

絞り込み: X

ローカルグループ名

Image: W/R icon

Image: R icon

Image: No access icon

hdusers
admin
guest
sample-group01

ページ 1 / 1 | 4 件中 1 - 4 を表示 | 表示件数: 20

OK キャンセル

6 [OK]をクリックします。

以上で、ローカルユーザーの共有フォルダーへのアクセスを制限する手順は完了です。

Active Directoryドメインユーザーの共有フォルダーへのアクセスを制限する

本製品にはActive Directoryとの連携機能が搭載されています。Active Directoryドメイン環境であれば、本製品はActive Directoryサーバーに登録されているアカウント情報を利用して本製品内のファイルやフォルダーに対してアクセス制限を設定できます。そのため、本製品で個別にアカウント管理をする必要がありません。本製品を複数台導入した場合でも、アカウント情報はActive Directoryで一元管理されますので、導入、管理の手間が省けます。

ここで説明する手順は、ネットワーク管理者を対象にしています。設定するには、Microsoftネットワークについて、ある程度精通している必要があります。詳しくはネットワーク管理者に確認してください。

メモ:

Active Directoryドメインを使ってアクセス制限を設定するには、以下の手順を行ってください。

1 設定画面で「ネットワーク」をクリックします。

設定画面の「ネットワーク」ボタン
設定画面の「ネットワーク」ボタン

2 「ワークグループ/ドメイン」の横にある設定アイコン( 設定アイコン )をクリックします。

「ワークグループ/ドメイン」の横にある設定アイコン
「ワークグループ/ドメイン」の横にある設定アイコン

3 「編集」をクリックします。

4 「Active Directoryドメイン」を選択し、「次へ」をクリックします。

「ワークグループ/ドメイン設定」ダイアログボックス。ネットワークの参加方法として「Active Directoryドメイン」が選択されています。
「ワークグループ/ドメイン設定」ダイアログボックス。ネットワークの参加方法として「Active Directoryドメイン」が選択されています。

5 各項目を設定し、[OK]をクリックします。

Active Directoryドメイン設定 dialog box

Active Directoryドメイン設定

* は必須項目です。 ? ▼

ドメインコントローラー検索: 検索
(IPアドレス、DNS名、またはコンピューター名)

ドメイン名 *:
(NetBIOS名)

ドメイン名 *:
(DNS名)

ドメインコントローラー名 *:
(コンピューター名)

管理者ユーザー名 *:

管理者パスワード *:

WINSサーバーアドレス:

ドメインコントローラーをNTPサーバーとして設定する

OK キャンセル

メモ:

6 [ファイル共有]をクリックします。

File Sharing button
File Sharing button

7 「共有フォルダー」の横にある設定アイコン( gear icon )をクリックします。

Shared folder settings bar

共有フォルダー 設定アイコン 2 フォルダー

Shared folder settings bar

8 アクセス制限を設定する共有フォルダーをクリックします。

共有フォルダー一覧のスクリーンショット。共有フォルダーのリストがあり、'share' フォルダが選択されています。

共有フォルダー一覧

共有フォルダーの作成 共有フォルダーの削除 ごみ箱を削除 絞り込み:

名称 ドライブ領域 ごみ箱 SMB AFP バックアップ Webアクセス 詳細
info
share RAIDアレイ 1

すべて選択 すべて解除

アクセス制限詳細設定 閉じる

共有フォルダー一覧のスクリーンショット。共有フォルダーのリストがあり、'share' フォルダが選択されています。

9 [アクセス制限] タブをクリックし、「共有フォルダーのアクセス制限設定」を「有効にする」にします。

共有フォルダーのアクセス制限設定: 有効にする 無効にする

10 「ドメインユーザー」タブまたは「ドメイングループ」タブのユーザー名またはグループ名のアクセス権限を選択します。

Image: 書き込み可能アイコン

: 書き込み可能

Image: 読み取り専用アイコン

: 読み取り専用

Image: アクセス不可アイコン

: アクセス不可

11 [OK] をクリックします。

以上で、Active Directory ドメインユーザーの共有フォルダーへのアクセスを制限する手順は完了です。

メモ:

Active Directory ドメインにログインした状態で本製品にアクセスしないと、アクセス制限設定の有無にかかわらず本製品の共有フォルダーにアクセスできません。

サブフォルダーへのアクセスを制限する

共有フォルダー内のファイルやフォルダーに対して、Windowsのエクスプローラーからアクセス権限を設定できる機能です。機能を有効にするには、以下の手順を行ってください。

メモ:

複数のユーザーに同じ権限を設定するときは、グループを作成してグループ単位でアクセス権限を設定することをおすすめします。

1 設定画面で[ファイル共有]をクリックします。

設定画面の[ファイル共有]ボタン
設定画面の[ファイル共有]ボタン

2 「共有フォルダー」の横にある設定アイコン( 設定アイコン )をクリックします。

共有フォルダーの横にある設定アイコン
共有フォルダーの横にある設定アイコン

3 アクセス制限を設定する共有フォルダーをクリックします。

共有フォルダー一覧のスクリーンショット。表には2つの共有フォルダーがリストアップされています。'info'フォルダーはドライブ領域が空で、他のすべての列(ごみ箱、SMB、AFP、バックアップ、Webアクセス)にダッシュ(-)が表示されています。'share'フォルダーはドライブ領域に'RAIDアレイ 1'と表示され、ごみ箱、SMB、AFPの列にチェックマーク(✓)が付いており、バックアップとWebアクセスの列にダッシュ(-)が表示されています。'share'フォルダーの行が選択されています。
名称 ドライブ領域 ごみ箱 SMB AFP バックアップ Webアクセス 詳細
info - - - - -
share RAIDアレイ 1 - -
共有フォルダー一覧のスクリーンショット。表には2つの共有フォルダーがリストアップされています。'info'フォルダーはドライブ領域が空で、他のすべての列(ごみ箱、SMB、AFP、バックアップ、Webアクセス)にダッシュ(-)が表示されています。'share'フォルダーはドライブ領域に'RAIDアレイ 1'と表示され、ごみ箱、SMB、AFPの列にチェックマーク(✓)が付いており、バックアップとWebアクセスの列にダッシュ(-)が表示されています。'share'フォルダーの行が選択されています。

4 「公開プロトコル」の「AFP」、「FTP」、「SFTP」にチェックマークが付いているときは、外します。

5 [オプション2]タブをクリックし、「サブフォルダーのアクセス制限設定」を「有効にする」にします。

サブフォルダーのアクセス制限設定: 有効にする 無効にする

アクセス許可されていないフォルダー/ファイル隠す: 有効にする 無効にする

メモ: 「アクセス許可されていないフォルダー/ファイルを隠す」を有効にすると、共有フォルダーにアクセスしたときに、権限のないファイルやフォルダーを非表示にできます。

6 [OK]をクリックします。

以上で、サブフォルダーへのアクセスを制限する手順は完了です。
続いてWindowsのエクスプローラーから、サブフォルダーに対してユーザー、グループごとにアクセス権限を設定してください。

Screenshot of the 'account004のプロパティ' (Properties of account004) dialog box, Security tab. The 'Object name' is '¥TSXXXXXXX¥share1¥account004'. The 'Group name or user name' list includes 'Everyone', 'CREATOR OWNER', and 'CREATOR GROUP'. The 'Access permissions' for 'Everyone' show 'Full control', 'Change', 'Read and execute', 'List folder contents', and 'Read' all checked under the 'Allow' column. Buttons for 'Edit', 'Advanced Settings', 'OK', 'Cancel', and 'Apply' are visible.
Screenshot of the 'account004のプロパティ' (Properties of account004) dialog box, Security tab. The 'Object name' is '¥TSXXXXXXX¥share1¥account004'. The 'Group name or user name' list includes 'Everyone', 'CREATOR OWNER', and 'CREATOR GROUP'. The 'Access permissions' for 'Everyone' show 'Full control', 'Change', 'Read and execute', 'List folder contents', and 'Read' all checked under the 'Allow' column. Buttons for 'Edit', 'Advanced Settings', 'OK', 'Cancel', and 'Apply' are visible.

サブフォルダのアクセス権限はドメインユーザー、グループでも設定できます。その場合は、サブフォルダに対してアクセス権限を設定する前に、本製品をActive Directoryドメインのネットワークに参加させてください。

メモ:

NFS機能を使用する

メモ: NFSクライアント(UNIX系OSなど)での接続については当社はサポートしておりません。あらかじめご了承ください。

NFS機能を有効にする

NFS(Network File System)クライアント(UNIX系OSなど)から本製品の共有フォルダーへアクセスできるように、NFS機能を有効にするには以下の手順を行ってください。

  1. 1 設定画面で「ファイル共有」をクリックします。
設定画面の「ファイル共有」ボタン
設定画面の「ファイル共有」ボタン
  1. 2 「共有フォルダー」の横にある設定アイコン(

    Image: 設定アイコン

    )をクリックします。
共有フォルダーと設定アイコン
共有フォルダーと設定アイコン
  1. 3 NFSクライアントへ公開する共有フォルダーをクリックします。
共有フォルダー一覧画面

共有フォルダー一覧

共有フォルダーの作成 共有フォルダーの削除 ごみ箱を削除 絞り込み:

名称 ドライブ領域 ごみ箱 SMB AFP バックアップ Webアクセス 詳細
info
share RAIDアレイ 1

すべて選択 すべて解除

アクセス制限詳細設定 閉じる

共有フォルダー一覧画面

4 「公開プロトコル」の「NFS」にチェックマークを付け、[OK]をクリックします。

公開プロトコル: SMB AFP
FTP バックアップ
SFTP Webアクセス
NFS warning icon
NFSパス

メモ: 公開するNFS公開パスをメモします。NFSクライアントからアクセスする際に必要です。

5 [閉じる]をクリックします。

6 「NFS」の横にあるスイッチ( switch icon )をクリックし、表示を blue switch にします。

NFS service row with switch turned on

A horizontal row for the NFS service. It includes an NFS icon, the text "NFS", a blue toggle switch in the "on" position, and a gear icon for settings.

NFS service row with switch turned on

7 「NFS」の横にある設定アイコン( gear icon )をクリックします。

NFS service row with gear icon

A horizontal row for the NFS service, identical to the previous one, but with the gear icon highlighted to indicate it should be clicked.

NFS service row with gear icon

8 [サービス]タブで、[編集]をクリックします。

IPアドレスでアクセスを制限しないときは、手順10に進んでください。

NFS情報

サービス クライアント設定 NFSルール

公開ネットワークアドレス: 0.0.0.0
公開サブネットマスク: 0.0.0.0

編集

NFS Information dialog box

A dialog box titled "NFS情報". It has three tabs: "サービス" (active), "クライアント設定", and "NFSルール". The "サービス" tab displays "公開ネットワークアドレス: 0.0.0.0" and "公開サブネットマスク: 0.0.0.0". At the bottom center is an "編集" (Edit) button. There is a help icon in the top right corner.

  1. 9 アクセスできるNFSクライアントをIPアドレスで制限するときは、アクセスを許可するネットワークアドレス、サブネットマスクを入力します。NFSクライアントのアクセスをIPアドレスで制限する設定の詳細については、後述のメモを参照してください。

入力したら、[OK]をクリックします。

NFSサービス設定 dialog box

NFSサービス設定

公開ネットワークアドレス: 0.0.0.0

公開サブネットマスク: 0.0.0.0

OK キャンセル

  1. 10 [クライアント設定]タブをクリックし、[追加]をクリックします。
NFS情報 dialog box

NFS情報

サービス クライアント設定 NFSルール

追加 削除 絞り込み: x

ホスト名 IPアドレス
  1. 11 NFSクライアント(UNIX系OSなど)のIPアドレスとホスト名を入力し、[OK]をクリックします。

共有フォルダーにアクセスするすべてのクライアントに対して、手順10、11を設定してください。

NFSクライアント設定 dialog box

NFSクライアント設定

* は必須項目です。

ホスト名 *:

IPアドレス *:

OK キャンセル

12 [NFSルール]タブをクリックし、[追加]をクリックします。

NFS情報ウィンドウのスクリーンショット。[NFSルール]タブが選択されており、[追加]ボタンがクリック可能な状態です。
NFS情報ウィンドウのスクリーンショット。[NFSルール]タブが選択されており、[追加]ボタンがクリック可能な状態です。

13 手順4で設定した共有フォルダーを選択し、「ホスト」にホスト名またはIPアドレス(複数登録する場合は、コンマで区切ってください。ワイルドカードも使用できます)を入力します。

NFSルール設定ダイアログボックスのスクリーンショット。フォルダーとホストの指定、権限(読取専用)、連動(非同期)、ゲストパーミッション(適用しない)が設定されています。
NFSルール設定ダイアログボックスのスクリーンショット。フォルダーとホストの指定、権限(読取専用)、連動(非同期)、ゲストパーミッション(適用しない)が設定されています。

14 その他任意の設定をし、[OK]をクリックします。

メモ: 「ゲストパーミッション」を「強制適用する」に設定すると、NFSクライアントから書き込んだ場合、uid、gidがともに「65534」に固定されます。SMBなどのほかのファイル共有サービスと一緒に使用するときを選択することをおすすめします。NFSクライアントだけでアクセスする場合は、「適用しない」を選択してください。

以上で、NFS機能を有効にする手順は完了です。

メモ:

例) 192.168.11.xxxのクライアントをアクセス許可にする場合の設定

「公開先ネットワークアドレス」→192.168.11.0

「公開先サブネットマスク」→255.255.255.0

例) 192.168.xxx.xxxのクライアントをアクセス許可にする場合の設定

「公開先ネットワークアドレス」→192.168.0.0

「公開先サブネットマスク」→255.255.0.0

NFSクライアントからアクセスする

NFSクライアント(UNIX系OSなど)から本製品内の共有フォルダーにアクセスするコマンドを実行します。コマンドの例は次のとおりです。

Linuxの場合:

mount -t nfs <IPアドレス>:<本製品のNFS公開パス> <ローカルパソコン上のマウントポイント>
例)mkdir /mnt/nas
mount -t nfs 192.168.11.10:/mnt/array1/share /mnt/nas

本製品のIPアドレスが192.168.11.10、NFS公開パスが/mnt/array1/share、ローカルパソコン上のマウントポイントがnasの例です。

Windows Services for UNIX 3.5の場合:

mount <IPアドレス>:<本製品のNFS公開パス> <ネットワークドライブのレター(空いていないとエラーになります)>
例)mount 192.168.11.10:/mnt/array1/share z:

本製品のIPアドレスが192.168.11.10、NFS公開パスが/mnt/array1/share、ネットワークドライブのレターがzの例です。

メモ: 名称にマルチバイト文字を含む共有フォルダーはアクセスできません。

Solaris10の場合:

mount -<F nfs IPアドレス>:<本製品のNFS公開パス> <ローカルパソコン上のマウントポイント>
例)mkdir /mnt/nas
mount -F nfs 192.168.11.10:/mnt/array1/share /mnt/nas

本製品のIPアドレスが192.168.11.10、NFS公開パスが/mnt/array1/share、ローカルパソコン上のマウントポイントがnasの例です。

macOSの場合:

sudo mount -t nfs -o resvport <IPアドレス>:<本製品のNFS公開パス> <ローカルパソコン上のマウントポイント>
例)mkdir /mnt/nas
sudo mount -t nfs -o resvport 192.168.11.10:/mnt/array1/share /mnt/nas

本製品のIPアドレスが192.168.11.10、NFS公開パスが/mnt/array1/share、ローカルパソコン上のマウントポイントがnasの例です。

オフラインファイル機能を使用する (Windows)

オフラインファイル機能を使えば、パソコンがネットワークにつながっていないときでも、ネットワークにつながっている状態であるかのように本製品内のファイルにアクセスできます。再びネットワークにつながったときに更新されたファイルを同期して書き込みます。

オフラインファイル機能を使用するには、以下の手順を行ってください。

1 設定画面で「ファイル共有」をクリックします。

A dark grey button with a white folder icon and the text 'ファイル共有' (File Sharing).
A dark grey button with a white folder icon and the text 'ファイル共有' (File Sharing).

2 「共有フォルダー」の横にある設定アイコン( gear icon )をクリックします。

A horizontal bar showing '共有フォルダー' (Shared Folder) on the left and a gear icon followed by '2 フォルダー' (2 Folders) on the right.
A horizontal bar showing '共有フォルダー' (Shared Folder) on the left and a gear icon followed by '2 フォルダー' (2 Folders) on the right.

3 オフラインファイル機能を使う共有フォルダーをクリックします。

A screenshot of the '共有フォルダー一覧' (Shared Folder List) window. It contains a table with columns for Name, Drive Area, Trash, SMB, AFP, Backup, Web Access, and Details. The 'share' folder is selected, showing it is on 'RAIDアレイ 1' and has checkmarks for Trash, SMB, and AFP. The 'info' folder has dashes for all options. Buttons at the top include '共有フォルダーの作成', '共有フォルダーの削除', and 'ごみ箱を削除'. Buttons at the bottom include 'すべて選択', 'すべて解除', 'アクセス制限詳細設定', and '開じる'.
名称 ドライブ領域 ごみ箱 SMB AFP バックアップ Webアクセス 詳細
info
share RAIDアレイ 1
A screenshot of the '共有フォルダー一覧' (Shared Folder List) window. It contains a table with columns for Name, Drive Area, Trash, SMB, AFP, Backup, Web Access, and Details. The 'share' folder is selected, showing it is on 'RAIDアレイ 1' and has checkmarks for Trash, SMB, and AFP. The 'info' folder has dashes for all options. Buttons at the top include '共有フォルダーの作成', '共有フォルダーの削除', and 'ごみ箱を削除'. Buttons at the bottom include 'すべて選択', 'すべて解除', 'アクセス制限詳細設定', and '開じる'.

4 [オプション1]タブをクリックします。

5 「ドキュメントの手動キャッシュ」、「ドキュメントの自動キャッシュ」、「プログラムおよびドキュメントの自動キャッシュ」のいずれかを選択し、[OK]をクリックします。

Screenshot of a Windows context menu for a folder. The 'Offline files' (オフラインファイル) and 'Virus scan' (ウイルススキャン) options are visible. The 'Offline files' dropdown is open, showing options: 'Offline files disabled' (オフラインファイル無効), 'Manual caching for documents' (ドキュメントの手動キャッシュ), 'Automatic caching for documents' (ドキュメントの自動キャッシュ), and 'Programs and documents automatic caching' (プログラムおよびドキュメントの自動キャッシュ).
Screenshot of a Windows context menu for a folder. The 'Offline files' (オフラインファイル) and 'Virus scan' (ウイルススキャン) options are visible. The 'Offline files' dropdown is open, showing options: 'Offline files disabled' (オフラインファイル無効), 'Manual caching for documents' (ドキュメントの手動キャッシュ), 'Automatic caching for documents' (ドキュメントの自動キャッシュ), and 'Programs and documents automatic caching' (プログラムおよびドキュメントの自動キャッシュ).

ドキュメントの手動キャッシュ : オフラインで使用するファイルを自分で選択する必要があります。

ドキュメントの自動キャッシュ : 開いたファイルをローカルにキャッシュしてオフラインで使用できるようにします。以前のファイルで同期が取れていないものは自動的に削除され、新しいものに置き換えられます。

プログラムおよびドキュメントの自動キャッシュ : 開いたファイルをローカルにキャッシュしてオフラインで使用できるようにします。以前のファイルやネットワークから実行されるアプリケーションで同期が取れていないものは自動的に削除され、新しいものに置き換えられます。

6 [OK]をクリックします。

7 [閉じる]をクリックします。

8 オフライン機能を設定した本製品の共有フォルダーのアイコンを右クリックし、表示されたメニューから[常にオフラインで使用する]をクリックします。

Screenshot of a Windows context menu for a folder named 'folder2'. The 'Always available offline' (常にオフラインで使用する) option is highlighted. Other menu items include 'Open' (開く), 'Open in new window' (新しいウィンドウで開く), 'Pin to Quick Access' (クイックアクセスにピン留め), 'Revert to previous version' (以前のバージョンの復元), 'Virus scan...' (ウイルススキャン...), and 'Pin to Start' (スタートにピン留めする).
Screenshot of a Windows context menu for a folder named 'folder2'. The 'Always available offline' (常にオフラインで使用する) option is highlighted. Other menu items include 'Open' (開く), 'Open in new window' (新しいウィンドウで開く), 'Pin to Quick Access' (クイックアクセスにピン留め), 'Revert to previous version' (以前のバージョンの復元), 'Virus scan...' (ウイルススキャン...), and 'Pin to Start' (スタートにピン留めする).

以上で、オフラインファイル機能を使用する手順は完了です。

設定が完了すると、共有フォルダーのアイコンが Icon for an offline folder, showing a folder with a green hand underneath it. に変わり、ファイルの同期が開始されます。同期が完了すると、オフライン機能を設定した共有フォルダーに保存されているデータに、パソコンをネットワークから切り離した状態でもアクセスできるようになります。オフラインファイルはそのデータが保存されていたもともとのUNC(Universal Naming Convention)でアクセスできます。

メモ:

第3章 ドライブのモードと管理

使用できるRAIDモード

各RAIDモードの特長は次のとおりです。各RAIDモードの設定に必要な台数のドライブが内蔵されていない製品では、該当のRAIDモードには変更できません。

メモ:

通常ドライブ

本製品内蔵のドライブを個々のドライブとして使用します。使用できる容量は、本製品内蔵のドライブの容量です。ドライブが破損した場合、破損したドライブのデータは復旧できません。

RAID 6モード

4台以上のドライブを1つのアレイとして使用し、2台のドライブにパリティ(誤り訂正符号)を生成しながらデータを書き込みます。使用できる容量は、RAIDアレイの作成に使用したドライブの合計容量から2台分除いた容量です。RAIDアレイの中のドライブ2台が破損してもドライブを交換すればデータを復旧できます。3台以上故障した場合、データは復旧できません。

RAID 5モード

3台以上のドライブを1つのアレイとして使用し、1台のドライブにパリティ(誤り訂正符号)を生成しながらデータを書き込みます。使用できる容量は、RAIDアレイの作成に使用したドライブの合計容量から1台分除いた容量です。RAIDアレイの中のドライブ1台が破損してもドライブを交換すればデータを復旧できます。2台以上故障した場合、データは復旧できません。

RAID 1モード

2台以上のドライブを1つのアレイとして使用します。使用できる容量は、ドライブ1台分の容量です。同じデータを複数のドライブに同時に書き込むので、構成するドライブ1台が破損してもドライブを交換すればデータを復旧できます。アレイを構成するドライブすべてが破損した場合、データは復旧できません。

RAID 0モード

2台以上のドライブを1つのアレイとして使用します。使用できる容量は、RAIDアレイの作成に使用したドライブの合計容量です。分散して書き込むのでアクセス速度が少し速くなります。ドライブが破損した場合、データは復旧できません。

RAID 10モード

RAID 1モードのアレイ2つをRAID 0として構成します。RAID 10を構成するには偶数台のドライブが必要です。使用できる容量は、RAIDアレイの作成に使用したドライブの合計容量の半分です。分散して書き込むので

アクセス速度は、RAID 1と比較して少し速くなります。同じデータを複数のドライブに同時に書き込むので、1つのドライブが破損してもドライブを交換すればデータを復旧できます。

お使いの製品の工場出荷時のRAIDモードは以下のとおりです。

TS5210DNシリーズ: RAID 1モード
TS5210DFシリーズ: RAID 1モード
TS5410DNシリーズ: RAID 6モード
TS5410RNシリーズ: RAID 6モード
TS5610DNシリーズ: RAID 6モード
TS5810DNシリーズ: RAID 6モード
TS51210RHシリーズ: RAID 6モード

ドライブの使用モードを設定する

通常ドライブで使用する

本製品内蔵のドライブを個々のドライブとして使用するにも、RAIDアレイを削除する必要があります。削除するには、以下の手順を行ってください。

1 設定画面で[ストレージ]をクリックします。

ストレージボタン
ストレージボタン

2 「RAID」の横にある設定アイコン(

Image: 歯車アイコン

)をクリックします。

RAIDアイコン
RAIDアイコン

RAID

設定アイコン
設定アイコン

3 削除するRAIDアレイをクリックします。

RAIDアレイ一覧
名称 RAIDモード 状態 全容量 使用容量 使用率 フォーマット形式 残り
RAIDアレイ 1 RAID 1 通常 899.4 GB 0 GB 0.00 % XFS
RAIDアレイ 2 未構成

オプションを設定する 閉じる

4 [RAIDアレイの削除]をクリックします。

RAIDアレイ 1

現在のRAIDモード: RAID 1

変更後のRAIDモード: RAID 1 ▾

少なくとも一つは設定を変更してください。

RAIDアレイに追加するドライブを選択してください。

ドライブ ▾ 状態 モデル名 共有フォルダー サイズ スペアドライブ
ドライブ 1 RAIDアレイ 1 / 通常 ST1000VN002-2EY1 - 900 GB -
ドライブ 2 RAIDアレイ 1 / 通常 ST1000VN002-2EY1 - 900 GB -
ドライブ 3 通常 ST1000VN002-2EY1 - 899.5 GB スペアドライブに設
ドライブ 4 通常 ST1000VN002-2EY1 - 899.5 GB スペアドライブに設

すべて選択 すべて解除

RAIDアレイの削除 RAIDアレイの変更 キャンセル

5 「通信の確認」画面が表示されます。表示されている数字を正確に入力し、[OK]をクリックします。

以上で、通常ドライブで使用する手順は完了です。

このまま通常ドライブで使用するときは、第2章の 「共有フォルダーを作成する」(P.28) を参照して、共有フォルダーを作成してから使用してください。

RAIDアレイを作成する

RAIDアレイを作成する前に、上記 「通常ドライブで使用する」(P.56) を参照して一度通常ドライブにしてください。

1 設定画面で[ストレージ]をクリックします。

A dark grey rectangular button with a white storage icon (three stacked disks) and the text 'ストレージ' (Storage).
A dark grey rectangular button with a white storage icon (three stacked disks) and the text 'ストレージ' (Storage).

2 「RAID」の横にある設定アイコン(

Image: gear icon

)をクリックします。

A horizontal navigation bar showing 'RAID' with a small icon on the left and a gear icon on the right, separated by a horizontal line.
A horizontal navigation bar showing 'RAID' with a small icon on the left and a gear icon on the right, separated by a horizontal line.

3 設定するRAIDアレイをクリックします。

RAIDアレイ一覧画面

RAIDアレイ一覧画面のスクリーンショット。上部に「RAIDアレイ一覧」というタイトルバーがあります。その下にはRAIDアレイのリストが表示されるテーブルがあります。テーブルのヘッダーは「名称」、「RAIDモード」、「状態」、「全容量」、「使用容量」、「使用率」、「フォーマット形式」、「残り容量」です。リストには「RAIDアレイ 1」と「RAIDアレイ 2」の2つの項目があり、両方とも「未構成」状態です。画面下部には「オプションを設定する」と「閉じる」の2つのボタンがあります。

RAIDアレイ一覧画面

4 RAIDモードを選択し、使用するドライブにチェックマークを付けて「RAIDアレイの作成」をクリックします。

RAIDアレイ 1 設定画面

RAIDアレイ 1 設定画面のスクリーンショット。上部に「RAIDアレイ 1」というタイトルバーがあります。その下には「RAIDモード: RAID 1」という選択項目があります。次に「データを残したままRAIDアレイを作成する(RMM)」というチェックボックスがあります。その下には「データを残すドライブ:」というラベルと、ドライブを選択するためのドロップダウンメニューがあります。その下には「RAIDアレイを構成するドライブを選択してください。」という指示文があります。その下にはドライブのリストが表示されるテーブルがあります。テーブルのヘッダーは「ドライブ ▲」、「状態」、「モデル名」、「共有フォルダー」、「サイズ」です。リストには「ドライブ 1」、「ドライブ 2」、「ドライブ 3」、「ドライブ 4」の4つの項目があり、すべて「通常」状態です。「ドライブ 1」と「ドライブ 2」にはチェックマークが付いています。画面下部には「すべて選択」と「すべて解除」の2つのボタンがあります。さらにその下には「RAIDアレイの作成」と「キャンセル」の2つのボタンがあります。

RAIDアレイ 1 設定画面

5 「はい」をクリックします。

6 「通信の確認」画面が表示されます。表示されている数字を正確に入力し、「OK」をクリックします。

以上で、RAIDアレイを作成する手順は完了です。

第2章の 「共有フォルダーを作成する」(P.28) を参照して、共有フォルダーを作成してから使用してください。

障害発生時に自動でシャットダウンする

RAID 0モード以外のRAIDアレイで使用中のドライブが故障したときに、自動で本製品をシャットダウンするように設定できます。

TS51210RHシリーズで本機能を有効にするときは、メール通知機能を設定してください。TS51210RHシリーズでは、シャットダウンするとランプがすべて消灯されるため、故障したドライブを判別できなくなります。そのようなときに、通知メールで故障したドライブを確認できます。

設定するには、第9章の 「イベント発生時にメールで通知する(メール通知機能)」(P.269) を参照してください。

障害発生時に本製品を自動でシャットダウンする設定は、以下の手順を行ってください。

1 設定画面で[ストレージ]をクリックします。

ストレージボタン
ストレージボタン

2 「RAID」の横にある設定アイコン(

Image: 歯車アイコン

)をクリックします。

RAID設定画面
RAID設定画面

3 [オプションを設定する]をクリックします。

RAIDアレイ一覧画面
名称 RAIDモード 状態 全容量 使用容量 使用率 フォーマット形式 残り
RAIDアレイ 1 RAID 1 通常 899.4 GB 0 GB 0.00 % XFS
RAIDアレイ 2 未構成
RAIDアレイ一覧画面

4 [編集]をクリックします。

5 「障害時のシャットダウン」を「行う」にし、[OK]をクリックします。

RAIDアレイ設定 dialog box

RAIDアレイ設定

障害時のシャットダウン: 行う 行わない

障害発生後、初回起動時のiSCSIサービース: 有効にする 無効にする

RAIDアレイチェック速度: 高 ▼

新規ドライブ検知時の自動リビルド: 行う 行わない

RAIDアレイを構成するドライブの一部が認識できないときの確認画面: 表示する 表示しない

[OK] [キャンセル]

以上で、障害発生時に自動でシャットダウンする手順は完了です。

自動でRAIDアレイを修復する (TS51210RHシリーズのみ)

RAID 0以外のRAIDアレイを作成したあと、RAIDアレイで使用しているドライブが故障し交換すると、交換したドライブを使用してRAIDアレイを自動で修復するように設定できます。

本機能は、TS51210RHシリーズで使用できます。TS51210RHシリーズ以外のTeraStationをお使いの場合は、本機能は設定画面に表示されません。

自動でRAIDアレイを修復する設定は、以下の手順で行ってください。

1 設定画面で[ストレージ]をクリックします。

Storage button

ストレージ

Storage button

2 「RAID」の横にある設定アイコン( gear icon )をクリックします。

RAID settings row gear icon

RAID

RAID settings row gear icon

3 [オプションを設定する]をクリックします。

RAIDアレイ一覧画面

RAIDアレイ一覧画面のスクリーンショット。上部に「RAIDアレイ一覧」というタイトルバーがあり、右側にヘルプアイコン(?)があります。中央には表があり、左下には「オプションを設定する」ボタン、右下には「閉じる」ボタンがあります。

名称 RAIDモード 状態 全容量 使用容量 使用率 フォーマット形式 残り
RAIDアレイ 1 RAID 1 通常 899.4 GB 0 GB 0.00 % XFS
RAIDアレイ 2 未構成
RAIDアレイ一覧画面

4 [編集]をクリックします。

5 「新規ドライブ検知時の自動リビルド」を「行う」にし、[OK]をクリックします。

RAIDアレイ設定画面

RAIDアレイ設定画面のスクリーンショット。上部に「RAIDアレイ設定」というタイトルバーがあり、右側にヘルプアイコン(?)があります。中央には5つの設定項目があり、それぞれ「行う」または「行わない」のラジオボタンがあります。左下には「OK」ボタン、右下には「キャンセル」ボタンがあります。

障害時のシャットダウン: 行う 行わない

障害発生後、初回起動時のiSCSIサービス: 有効にする 無効にする

RAIDアレイチェック速度: 高 ▼

新規ドライブ検知時の自動リビルド: 行う 行わない

RAIDアレイを構成するドライブの一部が認識できないときの確認画面: 表示する 表示しない

RAIDアレイ設定画面
  1. 6 表示されたメッセージをよく読み、「上記について理解した上で設定を続行する」にチェックマークを付けて[OK]をクリックします。
A confirmation dialog box titled '確認' (Confirmation). It contains a yellow warning triangle icon and the text: 'RAIDアレイの再構築中に別のドライブが破損するとデータが取り出せなくなる可能性があります。新規ドライブ検出時の自動リビルドを設定する前に、重要なデータを定期的にバックアップするように設定してください。' (It is possible that data may become inaccessible if another drive is damaged during RAID array reconstruction. Before setting automatic rebuild on new drive detection, please set to regularly backup important data.) Below the text is a checked checkbox with the label '上記について理解した上で設定を続行する' (Proceed with settings after understanding the above). At the bottom are two buttons: 'OK' and 'キャンセル' (Cancel).
A confirmation dialog box titled '確認' (Confirmation). It contains a yellow warning triangle icon and the text: 'RAIDアレイの再構築中に別のドライブが破損するとデータが取り出せなくなる可能性があります。新規ドライブ検出時の自動リビルドを設定する前に、重要なデータを定期的にバックアップするように設定してください。' (It is possible that data may become inaccessible if another drive is damaged during RAID array reconstruction. Before setting automatic rebuild on new drive detection, please set to regularly backup important data.) Below the text is a checked checkbox with the label '上記について理解した上で設定を続行する' (Proceed with settings after understanding the above). At the bottom are two buttons: 'OK' and 'キャンセル' (Cancel).

以上で、自動でRAIDアレイを修復する手順は完了です。

メモ: 故障したドライブを新しいドライブに交換後、「I32」が通知されることがあります。この通知は、RAIDアレイの修復が開始されると消えます。

RAIDアレイを構成するドライブが認識できないときの動作を設定する

本製品では、起動時にRAIDアレイを構成するドライブが認識できないときの動作を設定できます。

確認画面を非表示にする

起動時にRAIDアレイを構成するドライブが認識できないときに、実行する処理を選択する画面を表示するかどうかを設定します。

出荷時設定では実行する処理を選択する画面を表示するように設定されています。確認画面を表示しないように変更するには、以下の手順を行ってください。

  1. 1 設定画面で[ストレージ]をクリックします。
A dark grey rectangular button with a white storage icon (three stacked disks) and the text 'ストレージ' (Storage).
A dark grey rectangular button with a white storage icon (three stacked disks) and the text 'ストレージ' (Storage).
  1. 2 「RAID」の横にある設定アイコン( gear icon )をクリックします。
A horizontal list item showing 'RAID' with a small blue icon to its left and a gear icon to its right, indicating a settings option.
A horizontal list item showing 'RAID' with a small blue icon to its left and a gear icon to its right, indicating a settings option.

3 [オプションを設定する]をクリックします。

RAIDアレイ一覧画面

RAIDアレイ一覧画面のスクリーンショット。上部に「RAIDアレイ一覧」というタイトルバーがあり、右側にヘルプアイコン(?)があります。中央にはRAIDアレイのリストが表示されています。リストには「RAIDアレイ 1」と「RAIDアレイ 2」の2つの項目があります。「RAIDアレイ 1」は「RAID 1」モードで「通常」状態、全容量899.4 GB、使用容量0 GB、使用率0.00 %、フォーマット形式XFSです。「RAIDアレイ 2」は「未構成」状態です。画面下部には「オプションを設定する」と「閉じる」の2つのボタンがあります。

名称 RAIDモード 状態 全容量 使用容量 使用率 フォーマット形式 残り
RAIDアレイ 1 RAID 1 通常 899.4 GB 0 GB 0.00 % XFS
RAIDアレイ 2 未構成
RAIDアレイ一覧画面

4 [編集]をクリックします。

5 「RAIDアレイを構成するドライブの一部が認識できないときの確認画面」を「表示しない」にし、[OK]をクリックします。

RAIDアレイ設定画面

RAIDアレイ設定画面のスクリーンショット。上部に「RAIDアレイ設定」というタイトルバーがあり、右側にヘルプアイコン(?)があります。画面には5つの設定項目があります。1. 障害時のシャットダウン: 「行う」が選択されています。2. 障害発生後、初回起動時のiSCSIサービス: 「有効にする」が選択されています。3. RAIDアレイチェック速度: 「高」が選択されています。4. 新規ドライブ検知時の自動リビルド: 「行う」が選択されています。5. RAIDアレイを構成するドライブの一部が認識できないときの確認画面: 「表示しない」が選択されています。画面下部には「OK」と「キャンセル」の2つのボタンがあります。

RAIDアレイ設定画面

以上で、RAIDアレイを構成するドライブが認識できないときの確認画面を非表示にする手順は完了です。確認画面を非表示にすると、RAID 0以外のRAIDモードで使用しているときは、認識できないドライブは自動で取り外し処理がされ本製品はデグレードモードで起動します。RAID 0で使用しているときは、RAIDアレイが壊れるためデータが消えます。

確認画面は表示する設定のままお使いいただくことをおすすめします。

起動時の確認画面で実行する処理を選択する

確認画面を表示する設定にしていると、起動時にRAIDアレイを構成しているドライブが認識できないとき、設定画面にログインすると以下の確認画面が表示されます。画面が表示されたときは、実行する処理を選択してください。

確認

RAIDアレイ1を構成する一部のドライブが認識できません。

ドライブ : 2

※RAIDアレイの設定によっては、認識できないドライブがすべて表示されないことがあります。処理を実行する前に、正しく表示されない条件を 取扱説明書 で確認いただくことをおすすめします。

実行する処理を選択してください。

TeraStationを再起動してドライブを再認識する

TeraStationをシャットダウンしてドライブを再接続する

認識できないドライブを取り外してTeraStationを起動する

注意 : この処理を選択するとRAIDアレイがデグレード状態になったり、破損したりします。復旧に時間がかかったり、データが消去されるため、まず1つ目または2つ目の処理をお試してください。

認識できないドライブが正しく表示されない条件と対応方法

確認画面を表示する設定をしていても、以下の条件では認識できないドライブを正しく表示できません。以下の条件でRAIDアレイを設定している場合は、表に記載の対応方法を行ってください。

条件 対応
RAID 10を設定している 1 「TeraStationをシャットダウンしてドライブを再接続する」を選択し、「実行」をクリックする
RAIDアレイを複数設定している 2 すべてのドライブが正しく接続されているか確認する
3 電源ボタンを押して本製品を起動する
4 設定画面にログインして、確認画面が表示されていないことを確認する

スペアドライブを設定する

RAID 0以外のRAIDアレイ作成時に選択しなかったドライブは、通常ドライブに設定され各ドライブをデータの保存先として使用できます。このドライブをスペアドライブとして設定しておくことで、RAIDアレイのドライブが故障したとき、自動でスペアドライブを故障したドライブと置換して冗長性を保持できます(ホットスペア機能)。設定するには、以下の手順を行ってください。

メモ:

1 設定画面で[ストレージ]をクリックします。

ストレージボタン
ストレージボタン

2 「RAID」の横にある設定アイコン(

Image: 歯車アイコン

)をクリックします。

RAID設定アイコン
RAID設定アイコン

3 設定するRAIDアレイをクリックします。

RAIDアレイ一覧
名称 RAIDモード 状態 全容量 使用容量 使用率 フォーマット形式 残り
RAIDアレイ 1 RAID 1 通常 899.4 GB 0 GB 0.00 % XFS
RAIDアレイ 2 未構成

オプションを設定する 閉じる

4 ドライブを選択し、「スペアドライブに設定する」をクリックします。

RAIDアレイ 1

現在のRAIDモード: RAID 1

変更後のRAIDモード: RAID 1 ▼

少なくとも一つは設定を変更してください。

RAIDアレイに追加するドライブを選択してください。

ドライブ ▼ 状態 モデル名 共有フォルダー サイズ スペアドライブ
ドライブ 1 RAIDアレイ 1 / 通常 ST1000VN002-2EY1 - 900 GB -
ドライブ 2 RAIDアレイ 1 / 通常 ST1000VN002-2EY1 - 900 GB -
ドライブ 3 通常 ST1000VN002-2EY1 - 899.5 GB スペアドライブに設
ドライブ 4 通常 ST1000VN002-2EY1 - 899.5 GB スペアドライブに設

すべて選択 すべて解除

RAIDアレイの削除 RAIDアレイの変更 キャンセル

5 表示されたメッセージをよく読み、「上記について理解した上で設定を続行する」にチェックマークを付けて[OK]をクリックします。

確認

Warning icon 選択されたドライブのデータは削除されます。この操作は取り消すことができません。
また、スペアドライブによるRAIDアレイの修復中に別のドライブが破損するとデータが取り出せなくなる可能性があります。スペアドライブを設定する前に、重要なデータを定期的にバックアップするように設定してください。

上記について理解した上で設定を続行する

OK キャンセル

6 「通信の確認」画面が表示されます。表示されている数字を正確に入力し、[OK]をクリックします。

以上で、スペアドライブを設定する手順は完了です。

メモ: スペアドライブに設定している場合、上記の手順4で「通常ドライブに設定する」をクリックするとスペアドライブから通常ドライブに変更できます。

データを残したままRAIDアレイを操作する (RAID Mode Manager 機能)

RAID Mode Manager(RMM)機能を使用すると、データを残したままRAIDアレイを操作できます。

メモ:

RMM機能を使用することによるドライブの状態遷移は以下のとおりです。表の「n」はRAIDアレイを構成するドライブの台数を指しています。

現在のドライブの状態 変更後のRAIDモード 容量 冗長性(耐障害台数)
通常ドライブ RAID 1 増えない 向上する(1台)
RAID 1 RAID 1 増えない 向上する(n - 1台)
RAID 5 増える 変化なし(1台)
RAID 5 RAID 5 増える 変化なし(1台)
RAID 6 増えない 向上する(2台)
RAID 6 RAID 6 増える 変化なし(2台)

現在のドライブの状態が通常ドライブの場合

RMM機能を使用するには、RAIDアレイを作成していないドライブが2台以上、かつ設定画面で「通常」と表示されているドライブが1台以上必要です。

現在のドライブの状態が通常ドライブの場合は、以下の手順を行ってください。

1 設定画面で[ストレージ]をクリックします。

ストレージボタン
ストレージボタン

2 「RAID」の横にある設定アイコン(

Image: 歯車アイコン

)をクリックします。

RAID設定画面
RAID設定画面

3 設定するRAIDアレイをクリックします。

RAIDアレイ一覧画面

RAIDアレイ一覧画面のスクリーンショット。上部に「RAIDアレイ一覧」というタイトルバーがあります。その下には、名称、RAIDモード、状態、全容量、使用容量、使用率、フォーマット形式、残り容量の8つの列がある表があります。表には「RAIDアレイ 1」と「RAIDアレイ 2」の2行があり、両方とも「未構成」状態です。画面下部には「オプションを設定する」と「閉じる」の2つのボタンがあります。

RAIDアレイ一覧画面

4 「RAIDモード」で「RAID 1」を選択します。

RAIDアレイ 1 設定画面

RAIDアレイ 1 設定画面のスクリーンショット。上部に「RAIDアレイ 1」というタイトルバーがあります。その下には「RAIDモード: RAID 1」というラベルとドロップダウンメニューがあります。その下には「データを残したままRAIDアレイを作成する(RMM)」というチェックボックスがあり、チェックされています。その下には「データを残すドライブ: ドライブ 1」というラベルとドロップダウンメニューがあります。その下には「RAIDアレイを構成するドライブを選択してください。」という説明文があります。その下には、ドライブ、状態、モデル名、共有フォルダー、サイズの5つの列がある表があります。表には「ドライブ 1」から「ドライブ 4」までの4行があり、すべて「通常」状態です。「ドライブ 1」と「ドライブ 2」のチェックボックスがチェックされています。画面下部には「すべて選択」と「すべて解除」の2つのボタンがあります。右下には「RAIDアレイの作成」と「キャンセル」の2つのボタンがあります。

RAIDアレイ 1 設定画面

5 「データを残したままRAIDアレイを作成する(RMM)」にチェックマークを付けます。

6 「データを残すドライブ」をプルダウンメニューから選択します。選択しなかったドライブのデータは削除されます。必要なデータはバックアップしてから行ってください。

7 RAIDアレイを作成するのに使用するもう1台のドライブを選択します。

8 [RAIDアレイの作成]をクリックします。

9 「通信の確認」画面が表示されます。表示されている数字を正確に入力し、[OK]をクリックします。

以上で、現在のドライブの状態が通常ドライブの場合の手順は完了です。

現在のドライブの状態がRAID 1/5/6のいずれかの場合

RMM機能を使用するには、設定画面で「通常」と表示されているドライブが1台以上必要です。現在のドライブの状態がRAID 1/5/6のいずれかの場合は、以下の手順を行ってください。

  1. 1 設定画面で「ストレージ」をクリックします。
ストレージボタン

設定画面の「ストレージ」ボタン。黒い背景に白いストレージアイコンと「ストレージ」の文字が表示されています。

ストレージボタン
  1. 2 「RAID」の横にある設定アイコン(

    Image: 歯車アイコン

    )をクリックします。
RAID設定アイコン

「RAID」の横にある設定アイコン(歯車)がクリックされた状態を示す画像。RAIDの文字と歯車アイコンが並んで表示されています。

RAID設定アイコン
  1. 3 設定するRAIDアレイをクリックします。

RAIDアレイ一覧

名称 RAIDモード 状態 全容量 使用容量 使用率 フォーマット形式 残り
RAIDアレイ 1 RAID 1 通常 899.4 GB 0 GB 0.00 % XFS
RAIDアレイ 2 未構成

オプションを設定する 閉じる

  1. 4 ドライブ追加後のRAIDモードを選択し、RAIDアレイに追加するドライブ1台にチェックマークを付けます。RAIDモードを変更しないときは、「変更後のRAIDモード」に現在のRAIDモードと同じモードを選択します。

RAIDアレイ 1

現在のRAIDモード: RAID 1

変更後のRAIDモード: RAID 5

RAIDアレイに追加するドライブを選択してください。

ドライブ 状態 モデル名 共有フォルダー サイズ スペアドライブ
ドライブ 1 RAIDアレイ 1 / 通常 ST1000VN002-2EY1 - 900 GB -
ドライブ 2 RAIDアレイ 1 / 通常 ST1000VN002-2EY1 - 900 GB -
ドライブ 3 通常 ST1000VN002-2EY1 - 899.5 GB スペアドライブに設定
ドライブ 4 通常 ST1000VN002-2EY1 - 899.5 GB スペアドライブに設定

すべて選択 | すべて解除

RAIDアレイの削除 | RAIDアレイの変更 | キャンセル

  1. 5 [RAIDアレイの変更]をクリックします。
  2. 6 [通信の確認]画面が表示されます。表示されている数字を正確に入力し、[OK]をクリックします。

以上で、現在のドライブの状態がRAID 1/5/6のいずれかの場合の手順は完了です。

RAIDメンテナンス機能を有効にする

RAIDメンテナンス機能とは、RAID 0以外のRAIDアレイに対して問題なく読み取りできるか、不良セクターがないかチェックし、問題があったときには自動的に修復する機能です。RAIDメンテナンスは、定期的に行うことをおすすめします。

  1. 1 設定画面で[ストレージ]をクリックします。
ストレージボタン
ストレージボタン
  1. 2 [RAIDメンテナンス]の横にあるスイッチ( )をクリックし、表示を にします。
RAIDメンテナンススイッチON
RAIDメンテナンススイッチON
  1. 3 [RAIDメンテナンス]の横にある設定アイコン(

    Image: 設定アイコン

    )をクリックします。
RAIDメンテナンス設定アイコン
RAIDメンテナンス設定アイコン
  1. 4 [編集]をクリックします。

5 RAIDメンテナンスを実行するスケジュールを選択し、[OK]をクリックします。

RAIDメンテナンス設定 dialog box

RAIDメンテナンス設定

実行スケジュール: 毎月1日 日曜日

開始時刻: 2時

今すぐ実行

OK キャンセル

以上で、RAIDメンテナンス機能を有効にする手順は完了です。

メモ:

空き容量が少なくなったら通知する

本製品の空き容量が少なくなったときに、液晶ディスプレイや設定画面、メール通知機能などで通知するように設定できます。本機能は、本製品内蔵のドライブ、RAIDアレイ、LVMボリュームに対して有効です。

メモ: 空き容量警告を設定した状態でLVMを有効にした領域にiSCSIボリュームを作成すると、「I65」が通知されます。

1 設定画面で[ストレージ]をクリックします。

Storage button

ストレージ

Storage button

2 「ドライブ」の横にある設定アイコン( gear icon )をクリックします。

Drive settings row gear icon

ドライブ

Drive settings row gear icon

3 [空き容量警告設定]をクリックします。

ドライブ一覧画面のスクリーンショット。左下隅に「空き容量警告設定」ボタンが表示されています。

ドライブ一覧画面のスクリーンショット。上部には「ドライブチェック」「ドライブフォーマット」「ドライブの取り外し」「ドライブの再認識」「S.M.A.R.T.」のタブがあり、右側に「一覧の更新」ボタンがあります。中央にはドライブの一覧表があり、下部には「空き容量警告設定」ボタンと「閉じる」ボタンがあります。

ドライブ/アレイ 状態 暗号化 モデル名 全容量 使用容量 使用率 フォーマット形式
RAIDアレイ 1 通常 899.4 GB 0 GB 0.00 % XFS
ドライブ 1 RAIDアレイ 1 / 通常 ST1000VN002-2EY1 900 GB
ドライブ 2 RAIDアレイ 1 / 通常 ST1000VN002-2EY1 900 GB
ドライブ 3 通常 ST1000VN002-2EY1 899.4 GB 0 GB 0.00 % XFS
ドライブ 4 通常 ST1000VN002-2EY1 899.4 GB 0 GB 0.00 % XFS
ドライブ一覧画面のスクリーンショット。左下隅に「空き容量警告設定」ボタンが表示されています。

4 「空き容量警告」を「有効にする」にし、しきい値を入力して[OK]をクリックします。

本製品の空き容量がしきい値より少なくなると通知されます。

空き容量警告設定ダイアログボックスのスクリーンショット。有効にするオプションが選択され、しきい値が50%に設定されています。

空き容量警告設定ダイアログボックスのスクリーンショット。上部に「空き容量警告」という見出しがあり、その下に「有効にする」と「無効にする」のラジオボタンがあります。「有効にする」が選択されており、その右側に「しきい値: 50 %」の入力フィールドがあります。下部には「OK」と「キャンセル」のボタンがあります。

空き容量警告設定ダイアログボックスのスクリーンショット。有効にするオプションが選択され、しきい値が50%に設定されています。

以上で、空き容量が少なくなったら通知する手順は完了です。

空き容量が少なくなったことをメールで通知するには、第9章の 「イベント発生時にメールで通知する(メール通知機能)」(P.269) を参照して、メール通知機能を設定してください。

外付けUSBドライブを増設する

本体のUSB端子に、当社製USBドライブを増設して共有フォルダーとして使用できます。

USB端子の位置については、第1章の 「各部の名称とはたらき」(P.13) を参照してください。

フォーマット済みのUSBドライブであれば自動的に認識されます。未フォーマットの場合はフォーマットしてください。いくつかのフォーマット形式は、設定画面からもフォーマットできます。本製品が対応しているフォーマット形式や設定画面からフォーマットできる形式については、 「対応するフォーマット形式」(P.73) を参照してください。

正常に認識されると設定画面の共有フォルダー一覧に「usbdiskx」フォルダーが追加されます(xはUSBドライブを接続したUSB端子の番号)。

共有フォルダー一覧のスクリーンショット。上部には「共有フォルダーの作成」「共有フォルダーの削除」「ごみ箱を削除」の3つのボタンがあります。下部には「名称」と「ドライブ領域」の2つの列がある表があり、以下のエントリが表示されています:info、usbdisk1 (USBドライブ 1)、share1 (RAIDアレイ 1)。share1の左側にはチェックボックスがあります。
共有フォルダー一覧のスクリーンショット。上部には「共有フォルダーの作成」「共有フォルダーの削除」「ごみ箱を削除」の3つのボタンがあります。下部には「名称」と「ドライブ領域」の2つの列がある表があり、以下のエントリが表示されています:info、usbdisk1 (USBドライブ 1)、share1 (RAIDアレイ 1)。share1の左側にはチェックボックスがあります。

対応するフォーマット形式

USBドライブは以下のフォーマット形式に対応しています。

フォーマット形式 推奨環境
XFS ほかのバッファローNASに接続して使用するとき。
EXT3 ほかのバッファローNASに接続して使用するとき。1つのフォルダーに保存されたファイルの数が多くなるほどアクセスが遅くなるため、XFSを推奨します。また、フォーマット後に使用できる容量がXFSに比べて少ないです。
NTFS ※1 Windowsパソコンに接続してデータを編集するとき。exFATと比較して、OSの機能をより多く使用できます。
HFS+ ※1、2、3 Macパソコンに接続してデータを編集するとき。exFATと比較して、OSの機能をより多く使用できます。
exFAT ※1 Windows、Mac両方のパソコンに接続してデータを編集するとき。
FAT32 Windows、Mac両方のパソコンに接続してデータを編集するとき。

※1 設定画面ではフォーマットできません。

※2 本製品からは読み取り専用です。USBドライブのデータ本製品にコピーすることはできます。

※3 パーティション方式にAppleパーティションマップを選択してフォーマットした場合は使用できません。

増設したUSBドライブを取り外すときは、必ず取り外し処理を行ってください。取り外し処理を行わずにUSBドライブを取り外すと、もう一度接続した際に、正常に認識できないことがあります。このようなときは、本製品を再起動してから接続してください。

メモ:

USB 3.0接続USBドライブ増設時の注意

USBドライブによっては、本製品を再起動すると接続していたUSBドライブが認識されなくなることがあります。このようなときは、いったんUSBドライブを取り外し、もう一度取り付けてください。

ドライブの取り外し処理をする

メモ:

ファンクションボタンを使って取り外す

本製品のUSB端子に取り付けたUSBドライブをファンクションボタンを使って取り外すには、以下の手順を行ってください。

1 ファンクションボタンを押します。押した瞬間にピッと音が鳴ります。もう一度ピッと音が鳴るまで押し続けます。

2 ファンクションボタンが青色点滅します。点滅が点灯に変わったら、USBドライブを取り外します。

以上で、ファンクションボタンを使って取り外す手順は完了です。

ファンクションボタンは、約1分間点灯した後消灯します。消灯するとUSBドライブは再認識されますので、取り外すときははじめからやり直してください。

本製品の電源がOFFのときはそのまま取り外せます。

メモ:

設定画面を使って取り外す

USBドライブおよび本製品内蔵のドライブを設定画面を使って取り外すには、以下の手順を行ってください。

  1. 1 設定画面で「ストレージ」をクリックします。
A dark rectangular button with a white storage icon and the text 'ストレージ' (Storage).
A dark rectangular button with a white storage icon and the text 'ストレージ' (Storage).
  1. 2 本製品内蔵のドライブを取り外す場合は、「ドライブ」の横にある設定アイコン( gear icon )をクリックします。増設したUSBドライブを取り外す場合は、「USBドライブ」の横にある設定アイコン( gear icon )をクリックします。
A list showing 'ドライブ' (Drive) and 'USBドライブ' (USB Drive), each with a gear icon to its right.
A list showing 'ドライブ' (Drive) and 'USBドライブ' (USB Drive), each with a gear icon to its right.
  1. 3 取り外すドライブを選択し、[ドライブの取り外し]をクリックします。
A 'USBドライブ一覧' (USB Drive List) window. It contains buttons for 'ドライブチェック' (Drive Check), 'ドライブフォーマット' (Drive Format), 'ドライブの取り外し' (Remove Drive), and 'ドライブの再認識' (Rescan Drive). Below is a table with one row for 'USBドライブ 1'.
ドライブ名 状態 モデル名 全容量 使用容量 使用率 フォーマット形式
USBドライブ 1 通常 USB_Flash_Disk 9.9 GB 9.3 GB 93.95% FAT32
A 'USBドライブ一覧' (USB Drive List) window. It contains buttons for 'ドライブチェック' (Drive Check), 'ドライブフォーマット' (Drive Format), 'ドライブの取り外し' (Remove Drive), and 'ドライブの再認識' (Rescan Drive). Below is a table with one row for 'USBドライブ 1'.
  1. 4 「通信の確認」画面が表示されます。表示されている数字を正確に入力し、[OK]をクリックします。
  1. 5 取り外し処理が完了したら、ドライブを本製品から抜いて[OK]をクリックします。

以上で、設定画面を使って取り外す手順は完了です。

メモ: ドライブをもう一度接続するときは、3分程度時間をあけてから接続してください。すぐに接続すると認識できないことがあります。

ドライブをチェックする

ドライブのデータをチェックします。異常があったときには自動的に修復します。

メモ:

1 設定画面で[ストレージ]をクリックします。

ストレージボタン
ストレージボタン

2 RAIDアレイまたは本製品内蔵のドライブをチェックする場合は、「ドライブ」の横にある設定アイコン( 設定アイコン )をクリックします。増設したUSBドライブをチェックする場合は、「USBドライブ」の横にある設定アイコン( 設定アイコン )をクリックします。

ドライブとUSBドライブの設定アイコン
ドライブとUSBドライブの設定アイコン

3 チェックするRAIDアレイまたはドライブを選択し、[ドライブチェック]をクリックします。

ドライブ一覧

共通設定

ドライブチェック ドライブフォーマット ドライブの取り外し ドライブの再認識 S.M.A.R.T. 一覧の更新

ドライブ/アレイ 状態 暗号化 モデル名 全容量 使用容量 使用率 フォーマット形式
RAIDアレイ 1 通常 899.4 GB 0 GB 0.00 % XFS
ドライブ 1 RAIDアレイ 1 / 通常 ST1000VN002-2EY1 900 GB
ドライブ 2 RAIDアレイ 1 / 通常 ST1000VN002-2EY1 900 GB
ドライブ 3 通常 ST1000VN002-2EY1 899.4 GB 0 GB 0.00 % XFS
ドライブ 4 通常 ST1000VN002-2EY1 899.4 GB 0 GB 0.00 % XFS

空き容量警告設定 閉じる

4 [チェック]をクリックします。

ドライブチェックダイアログボックス

ドライブチェックダイアログボックスのスクリーンショット。タイトルは「ドライブチェック」。チェック対象は「ドライブ 3」。チェックボックス「macOS固有情報を削除する」は未選択。警告メッセージ:「警告: ドライブチェックを実行する前に本TeraStationのバックアップデバイスとして設定されていないことを確認してください。バックアップデバイスとして設定されている場合はドライブチェックを実行しないでください。」。ボタンは「チェック」と「キャンセル」。

ドライブチェックダイアログボックス

5 ドライブのチェックが開始されます。

チェック中は、「I14」(RAIDアレイの場合)、「I21」(本製品内蔵のドライブの場合)、「I27」(USBドライブの場合)のいずれかが通知されます。チェックが終わるまで共有フォルダーにはアクセスできません。

以上で、ドライブをチェックする手順は完了です。チェックが終了すると、「I14」、「I21」、「I27」の通知が消えます。

メモ: Macから接続中に、停電など正常な手段で接続が解除できなかった場合、OSが作成するデータベースなどが破損し、接続できなくなることがあります。このようなときは、「macOS固有情報を削除する」にチェックマークを付けてドライブチェックを実行してください。

SSDのTrimを設定する(TS5210DFシリーズのみ)

SSDを長期間使い続けると、ドライブの性能が低下することがあります。そのようなときにSSDのTrimを実行するとドライブの性能が改善されることがあります。Trimは定期的に実行することをおすすめします。

メモ: 本機能は、TS5210DFシリーズで使用できます。TS5210DFシリーズ以外のTeraStationをお使いの場合は、本機能は設定画面に表示されません。

1 設定画面で[ストレージ]をクリックします。

ストレージボタン

設定画面の「ストレージ」ボタン。黒い背景に白いストレージアイコンと「ストレージ」の文字。

ストレージボタン

2 「ドライブ」の横にある設定アイコン( 設定アイコン )をクリックします。

ドライブ設定バー

ドライブ設定バー。左側に「ドライブ」の文字とアイコン、右側に歯車アイコン(設定アイコン)。

ドライブ設定バー

3 画面の左下にある[SSDメンテナンス設定]をクリックします。

ドライブ一覧画面のスクリーンショット。左下に[SSDメンテナンス設定]ボタンが選択されている。

ドライブ一覧画面のスクリーンショット。上部には「ドライブチェック」「ドライブフォーマット」「ドライブの取り外し」「ドライブの再認識」「S.M.A.R.T.」のタブがあり、「共通設定」が選択されています。右側には「一覧の更新」ボタンがあります。中央にはドライブの一覧表があり、左下には「SSDメンテナンス設定」「SSD総書き込み容量上限設定」「空き容量警告設定」のボタンがあります。右下には「閉じる」ボタンがあります。

ドライブ/アレイ 状態 暗号化 モデル名 全容量 使用容量 使用率 フォーマット形式 重要
RAIDアレイ 1 通常 201.3 GB 0 GB 0.02 % XFS
ドライブ 1 RAIDアレイ 1 / 通常 P256G25STP3-256G 201.5 GB
ドライブ 2 RAIDアレイ 1 / 通常 P256G25STP3-256G 201.5 GB
ドライブ一覧画面のスクリーンショット。左下に[SSDメンテナンス設定]ボタンが選択されている。

4 [編集]をクリックします。

5 Trimを実行するスケジュールを選択し、[OK]をクリックします。

SSDメンテナンス設定ダイアログボックスのスクリーンショット。Trimが有効に設定され、実行スケジュールが1時間に1回、開始時刻が0時に設定されている。

SSDメンテナンス設定ダイアログボックスのスクリーンショット。中央には「Trim:

有効にする」というチェックボックスがあります。その下には「実行スケジュール: 1時間に1回」のドロップダウンメニューと「日曜日」のドロップダウンメニューがあります。さらに下には「開始時刻: 0時」のドロップダウンメニューがあります。左下には「今すぐ実行する」ボタン、右下には「OK」ボタンと「キャンセル」ボタンがあります。

Trim: 有効にする

実行スケジュール: 1時間に1回 ▾ 日曜日 ▾

開始時刻: 0時 ▾

今すぐ実行する OK キャンセル

SSDメンテナンス設定ダイアログボックスのスクリーンショット。Trimが有効に設定され、実行スケジュールが1時間に1回、開始時刻が0時に設定されている。

メモ: [今すぐ実行]をクリックすると、すぐにTrimが実行されます。

以上で、SSDのTrimを設定する手順は完了です。

SSDのデータ保護機能について(TS5210DFシリーズのみ)

ドライブの書き込み容量が保証総書き込み容量(TBW)を超えた状態で運用を続けると、ドライブに不良ブロックが発生します。以下のどちらかの条件にあてはまる場合、データが消えるのを防ぐために、TeraStationは自動的にデータ保護モードとなり読み取り専用になります。

<条件>

データ保護モードになると、設定画面に「XXXの不良ブロック数が危険な値に達したため、データ保護モードになっています。」と表示され、各機能が制限されます。また、データの保存もできなくなります。データをバックアップした後、第10章の 「データ保護モード時にドライブを交換する」(P.312) を参照してドライブを交換してください。

制限される機能

データ保護モードになると制限される機能は次のとおりです。

設定画面のカテゴリー 設定画面のメニュー名 制限される機能
ファイル共有 共有フォルダー 共有フォルダーの作成・編集・削除/ごみ箱内のファイルの削除。
Webアクセス Webアクセス機能の有効化/設定の変更/新規フォルダーの作成/フォルダーとファイルの削除・編集・コピー・移動/ファイルのアップロード。
ストレージ ドライブ ドライブチェックの実行。
修復不可能な領域が発生しているドライブに対してのドライブフォーマットの実行。
SSDメンテナンス設定の編集。
RAID RAIDアレイの作成・編集。
RAIDメンテナンス RAIDメンテナンスの有効化/設定の変更。
LVM LVMの有効化・無効化/NASボリュームの作成・編集・削除。
iSCSI iSCSIボリュームの作成・編集・削除。
※iSCSIボリュームに接続している状態で読み込み専用領域となった場合は、iSCSIボリュームとの接続が切断されます。以下の手順でデータをバックアップした後、新しいドライブに交換してください。
(1) 設定画面で[ストレージ]-[iSCSI]をクリックしてiSCSI情報画面を表示します。
(2) 無効と表示されているiSCSIボリュームを選択し[イニシエーターからの接続を許可する]をクリックします。
(3) データをバックアップします。
(4) 新しいドライブに交換します。